炼金石图纸

gert zum wahlweisen einstellen der temperatur einer
图片尺寸1842x2908
kupplung zur drehmomentübertragung von einem durch
图片尺寸1536x2889
魔兽世界tbc炼金石图纸怎么获得
图片尺寸445x615
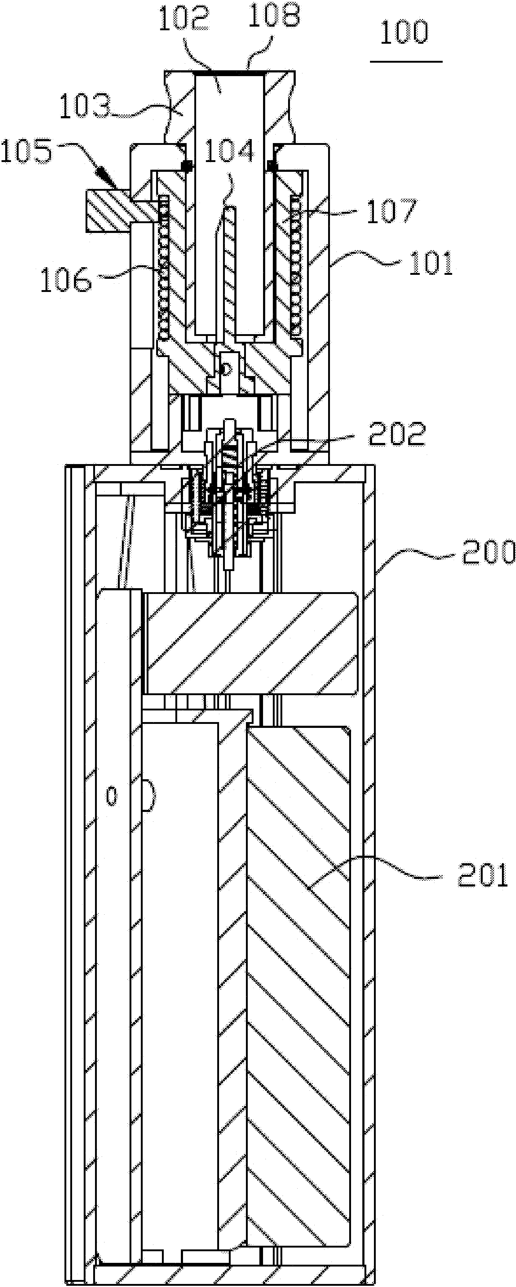
qdj2908y1
图片尺寸1568x837
grille de lit fluidisé
图片尺寸1036x1527
产品(npc)
图片尺寸270x335
heat exchanger vessel with means for recirculating
图片尺寸1539x2538
fastening element provided with an inclined section
图片尺寸2067x2819
3q8,dbf-6.
图片尺寸1076x706
a system for preparing a coffee beverage, ground
图片尺寸1642x1547
图纸- 热门商品专区
图片尺寸840x797
verfahren und vorrichtung zur befüllung von chr
图片尺寸1696x1992
2019-02-16
图片尺寸593x835
治疗饰品救赎者炼金石分析治疗和续航属性优秀
图片尺寸583x431
李永
图片尺寸1320x933
某活动小组同学用加热草酸晶体制得的co(h
图片尺寸525x318
一种石油提炼装置
图片尺寸1751x1017
anaerosolgeneratingdevicecapableofregulatinganexothermicregion
图片尺寸1689x4210
methods of forming integrated circuit devices
图片尺寸1784x1770
产品中心
图片尺寸847x1069