炼钢炉简笔画

火炉简笔画火炉简笔画怎么画
图片尺寸800x450
带倾注嘴的炼钢炉-爱企查
图片尺寸1824x2384
一种炼钢炉-爱企查
图片尺寸722x799
火炉炉子手绘炼丹炉线稿
图片尺寸539x812
cn205774628u_炼钢炉有效
图片尺寸1000x952
一种具有调节冶炼热平衡结构的钢铁用转炉的制作方法
图片尺寸366x443
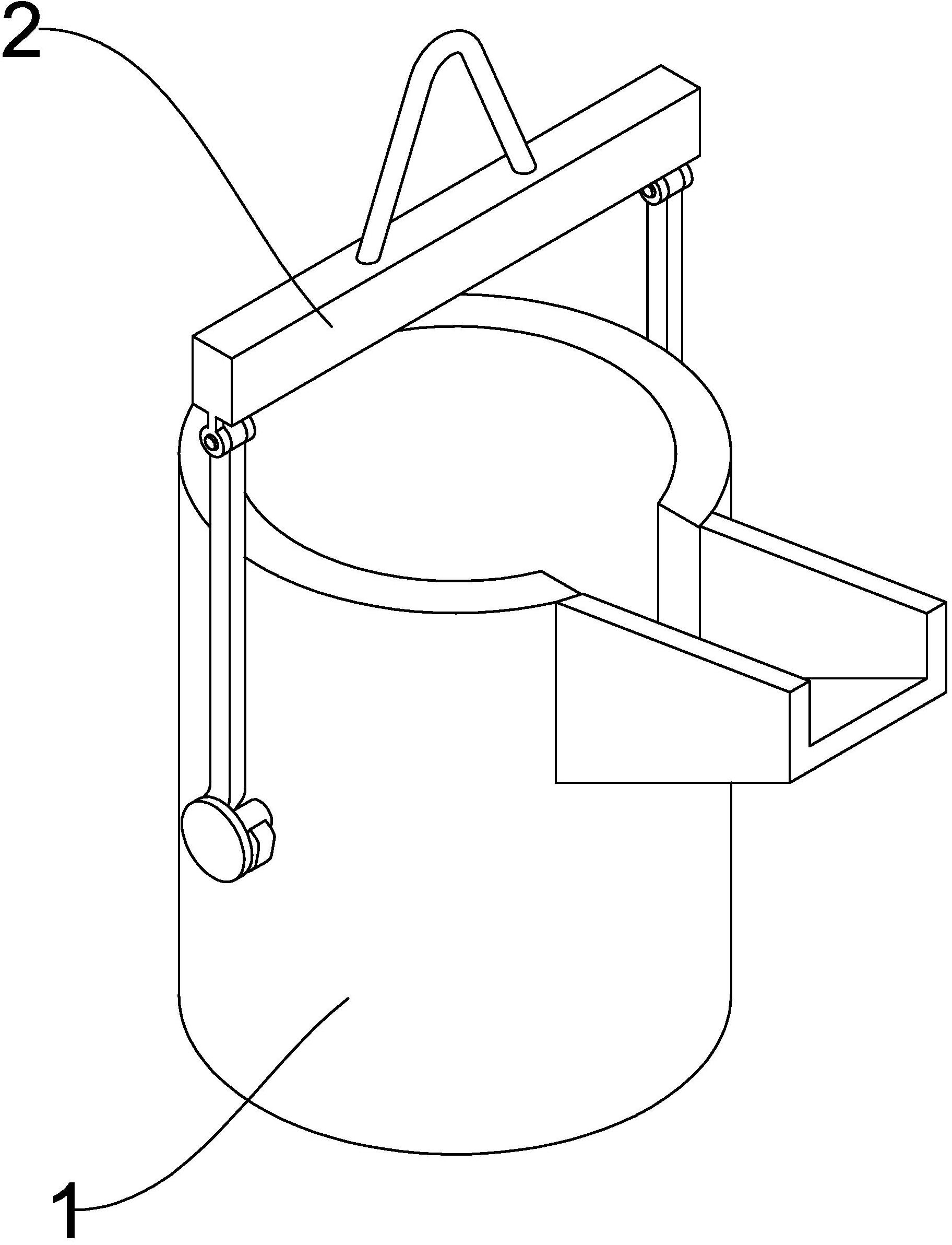
一种钢铁生产用炼钢转炉-爱企查
图片尺寸511x800
设计表情包简笔画插画更多样机背景图片图标ppt元素字体素材中国风水
图片尺寸680x544
炉子的简笔画
图片尺寸500x351
炼钢的13个步骤
图片尺寸1080x1022
一种便于增加富氧的生铁制备高炉的制作方法
图片尺寸443x406
手绘炉子素材
图片尺寸610x610
炉子简笔画 炉子简笔画彩色
图片尺寸500x509
一种氧气顶吹炼钢转炉-爱企查
图片尺寸1695x2978
转炉炼钢
图片尺寸523x359
炉子简笔画 炉子简笔画彩色
图片尺寸588x500
高炉简笔画炼钢过程简笔画看过该简笔画的同学还看了
图片尺寸426x593
cn2693782y_煤电组合炼钢炉失效
图片尺寸613x600
火炉炉子手绘炼丹炉线稿
图片尺寸1024x1024
环保型炼钢转炉的制作方法
图片尺寸444x378