炼铁炉简笔画

炉剪贴画
图片尺寸600x556
火炉炉子手绘炼丹炉线稿
图片尺寸539x812
炉子简笔画 炉子简笔画彩色
图片尺寸434x500
炉子简笔画 炉子简笔画彩色
图片尺寸500x509
炼丹炉简笔画步骤
图片尺寸310x418
火炉简笔画火炉简笔画怎么画
图片尺寸800x450
炉子的简笔画
图片尺寸500x351
炉子简笔画 炉子简笔画彩色
图片尺寸588x500
手绘炉子素材
图片尺寸610x610
炼铁高炉简笔画
图片尺寸426x593
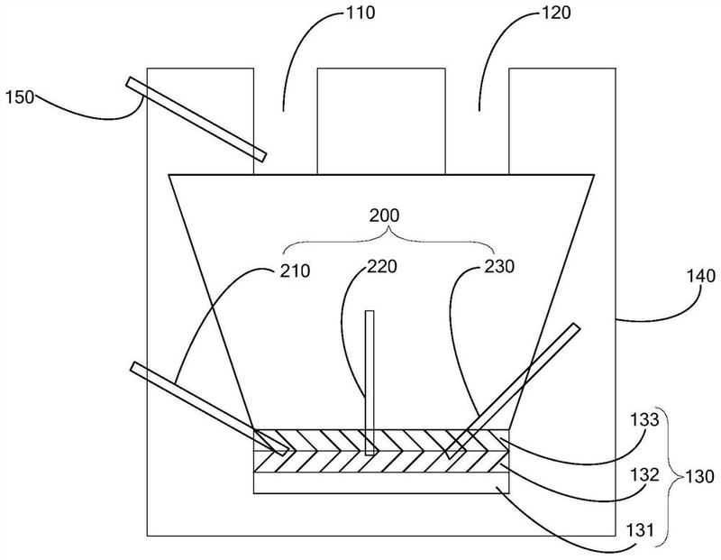
cn205774628u_炼钢炉有效
图片尺寸1000x952
简笔画炼丹炉
图片尺寸310x500
炉子简笔画 炉子简笔画彩色
图片尺寸508x500
铁炉子简笔画
图片尺寸260x339
一种具有调节冶炼热平衡结构的钢铁用转炉的制作方法
图片尺寸366x443
熔池侧吹炼铁炉-爱企查
图片尺寸800x621
炉子简笔画 炉子简笔画彩色
图片尺寸535x500
唐山印记|古冶这个名字咋来的?_炼铁
图片尺寸888x643
铸铁件是由铁矿石和木炭在炼铁炉内冶炼得到的铁液浇筑制成的,铸造
图片尺寸268x443
炼铁用炉窖
图片尺寸326x431