烟叶烟梗分离机

烟用叶梗分离机
图片尺寸600x369
processing of tobacco leaf and stem
图片尺寸709x532
烟叶切丝机厂家
图片尺寸496x360
新疆烟梗粉碎机三彩机械图超细烟梗粉碎机
图片尺寸700x524
烟叶在复烤的时候,叶片和烟梗被分离开来,而烟厂的生产线也分为两条
图片尺寸651x332
l 主要功能:把烟叶上的烟叶片撕下来, 并与烟梗分离
图片尺寸720x1024
烟梗粉碎机
图片尺寸720x500
快速烟草水份仪 ms320烟丝水分计烟叶测湿仪烟梗薄片水分湿度
图片尺寸800x800
株洲公安健全"四项协作机制",全力打击涉烟草违法犯罪
图片尺寸640x479
tk100t烟草水分测定仪烟丝水份湿度仪烟叶烟梗含水率测湿仪
图片尺寸800x800
昆明电动切烟丝机厂家直营a
图片尺寸400x400
薄片,烟叶,烟梗水分测定仪
图片尺寸600x600
云南:数字化开启烟叶复烤新征程|云南省_新浪财经_新浪网
图片尺寸750x497
本发明公开了一种烟梗筛分设备,包括:筛选装置,用于
图片尺寸1000x936
烟叶水分测定仪
图片尺寸500x560
烟叶水分仪tk100t 烟草烟丝水分测定仪梗丝薄片烟叶烟梗
图片尺寸800x800
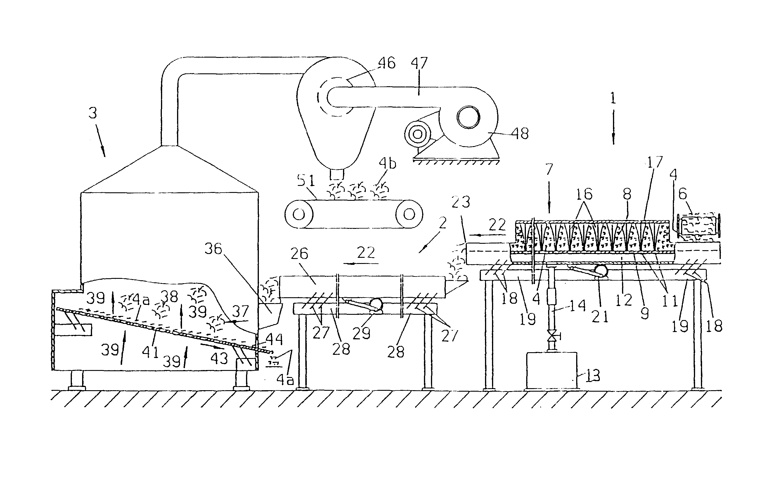
分离烟梗纤维和粘结在一起的烟叶片纤维的方法和设备
图片尺寸2656x1632
烟叶回潮机
图片尺寸663x465
烟叶回潮机
图片尺寸544x840
【彩云大型烟丝切丝机】大型烟丝切丝机a彩云大型烟丝切丝机厂家价位
图片尺寸500x671