烟嘴模具结构

电子烟烟嘴模具
图片尺寸662x599
电子烟烟嘴模具
图片尺寸346x220
电子烟烟嘴模具
图片尺寸820x807
使用方便和结构简单的问题,其特征是:烟嘴内部中空,烟嘴的一头成扁平
图片尺寸800x706
电子烟烟嘴模具
图片尺寸783x758
电子烟嘴模具
图片尺寸820x729
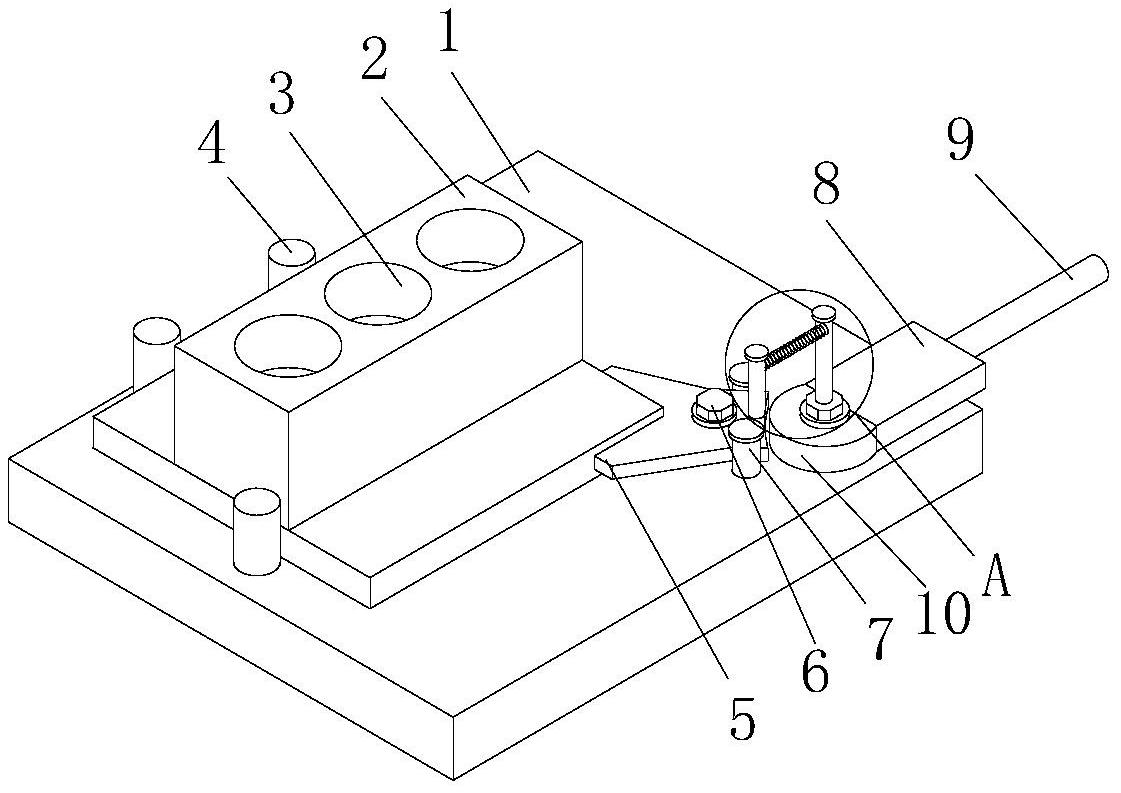
一种用于烟嘴组装的定位模具的制作方法
图片尺寸443x382
电子烟的烟嘴和底座模具
图片尺寸820x742
过滤烟嘴的制作方法
图片尺寸800x371
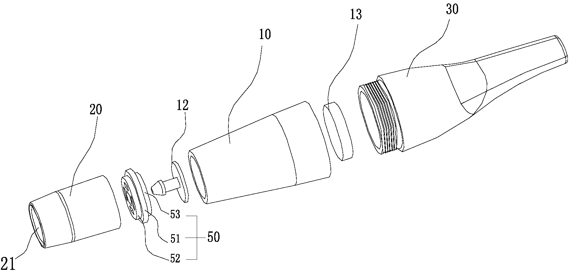
一种电子烟上烟嘴帽生产用模具
图片尺寸1121x793
包括烟嘴套,永久性陶瓷过滤器和过滤夹芯层;所述烟嘴套为中空结构;所
图片尺寸1000x669
一次性烟嘴 抛弃型烟嘴 30型 一出24全新模具
图片尺寸1024x768
一种热嘴自动切换的烟嘴成型用塑胶模具系统的制作方法
图片尺寸444x378
奔驰汽车点烟口模具设计
图片尺寸291x218
一种用于注塑烟嘴的自动脱料头模具系统的制作方法
图片尺寸444x428
本实用新型公开了一种香烟过滤嘴,其包括主壳体,烟嘴头,吸嘴;所述主
图片尺寸1854x885
烟弹就是通常所说的电子烟烟嘴,是装在电子烟雾化器上面的必要零件.
图片尺寸511x707
专业制作塑料烟嘴模具 烟嘴加工 产品生产 高档模具
图片尺寸1057x696
滤烟嘴真实测评真人开箱实测
图片尺寸645x600
一款时下比较流行的电子烟的配件模具设计图纸,产品为烟嘴 底座,图纸
图片尺寸820x705