烟囱内部结构

一起来看看烟囱的内部!
图片尺寸640x417
钢烟囱内壁防腐
图片尺寸2592x1944
发电厂为什么需要"大烟囱"呢?有什么用?看完解开多年疑惑
图片尺寸640x573
如何自行清理真火壁炉烟囱?
图片尺寸554x431
想象一下烟囱及其内部的烟道,作为确保燃烧稳定与安全的结构.
图片尺寸640x480
德国住宅内部壁炉烟囱系统一瞥
图片尺寸400x479
在灶台点火后,烟气带着热量从炕内的烟道回廊通过,然后到达墙角的烟囱
图片尺寸640x445
德国住宅内部壁炉烟囱系统一瞥
图片尺寸240x480
电厂拆除烟囱旧内衬内筒完毕后,逐一检查烟筒内壁钢结构平台
图片尺寸880x1320
(五峰山大跨烟囱塔内部实景)(五峰山大跨烟囱塔外部实景)
图片尺寸500x666
烟囱加固工程,滑模烟囱工程,新建水塔工程,钢结构防腐工程,烟囱脱硫
图片尺寸500x1000
柔性烟管,砖石炉膛中安装壁炉烟囱的最优解
图片尺寸600x988
烟囱防腐烟道防腐烟囱内壁防腐烟囱防腐方法烟囱防腐处理
图片尺寸580x435
一种防腐蚀的烟囱内衬结构的制作方法
图片尺寸395x444
一种套筒自立式自适应性抗振钢烟囱-爱企查
图片尺寸766x800
一种环保烟囱的制作方法
图片尺寸750x1000
为什么在电厂同样的排放气体功能,烟囱(排放烟气)上部要变细,而冷却塔
图片尺寸387x431
a级壁炉烟管必须通过 ul 认证,且不应在一个烟囱系统中混合搭配不同
图片尺寸871x851
论真火壁炉烟囱的重要性
图片尺寸320x473
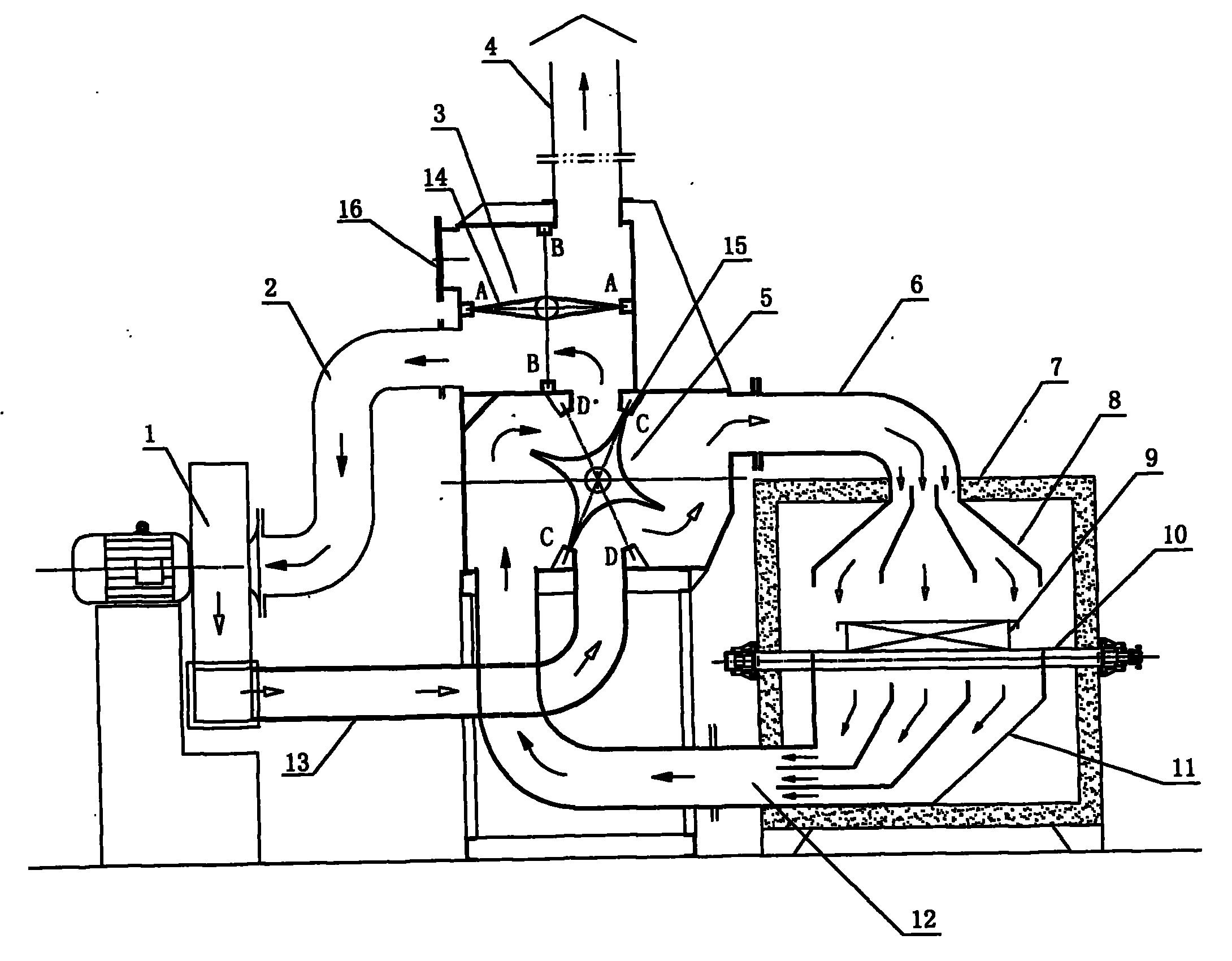
室,主要包括风机,进风管,出风管,上风管,下风管,传动辊,烟囱和快冷室
图片尺寸2180x1700