烟盒平面图

烟盒教程来啦
图片尺寸1851x1280
哪位大神可以帮忙做个cad烟盒平面图呀_百度知道
图片尺寸456x730
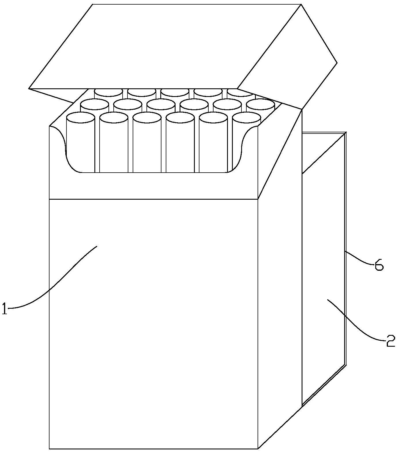
一种烟盒制造技术,亚克力烟盒专利_技高网
图片尺寸1000x952
一种烟盒的外包装盒-爱企查
图片尺寸2364x1536
huanghelou黄鹤楼烟盒异形盒设计及外观视觉效果设计|平面|包装|黒乜
图片尺寸3000x2143
皮革烟盒烟包版型图纸
图片尺寸1080x1439
上盖滑动开启式烟盒-天眼查
图片尺寸831x945
烟盒展开图(共2页)
图片尺寸920x651
烟盒图片免费下载_烟盒素材_万素网
图片尺寸350x360
钻石烟盒设计平面图png图片素材下载_钻石png_熊猫办公
图片尺寸724x1024
烟盒的展开图平面广告素材免费下载(图片编号:1067377)-六图网
图片尺寸1024x2389
香烟包装设计图片cdr矢量模版下载 - 菜鸟图库
图片尺寸700x748
香烟png矢量素材图片免费下载_png素材_编号z62i8g68r_图精灵
图片尺寸800x602
新型多功能环保烟盒专利_专利申请于2020-05-29_专利查询 - 天眼查
图片尺寸1383x1571
一种烟用包装盒-天眼查
图片尺寸748x1000
一种双开出烟烟盒-爱企查
图片尺寸1032x1528
一种烟盒专利_专利申请于undefined_专利查询 - 天眼查
图片尺寸864x1000
一种烟盒-爱企查
图片尺寸1382x1201
烟盒源文件
图片尺寸456x730
一种烟盒-天眼查
图片尺寸1614x1520