烟花内部结构图

烟花是怎样呈现出那么多不同的颜色和姿态?
图片尺寸650x472
而烟花爆竹的基础结构,简单来说就是"密闭容器 负责发射的火药 内裹
图片尺寸337x935
除了鞭炮,人们还制作出了烟花,元代赵孟頫有诗云:"纷纷灿烂如星陨
图片尺寸386x526
烟花的哨声和绚丽的颜色是怎么产生的
图片尺寸660x530
关于球状烟花的几个物理问题
图片尺寸500x589
烟花是怎样呈现出那么多不同的颜色和姿态?
图片尺寸649x532
烟花的物理学原理,它的大小,形状和颜色是怎么来的?
图片尺寸243x370
爆竹声声迎祥瑞你知道炮竹的前世今生吗
图片尺寸1080x599
烟花爆竹为什么能呈现出绚丽的色彩?
图片尺寸720x628
一组揭示鞭炮内部结构的摄影作品
图片尺寸721x901
为了找到答案,需要了解烟花的内部结构. 烟花的三种基本类型.
图片尺寸600x200
cn2175401y_红杉树系列烟花失效
图片尺寸800x1433
那些造型各异的国庆烟花是如何在空中成像的
图片尺寸660x660
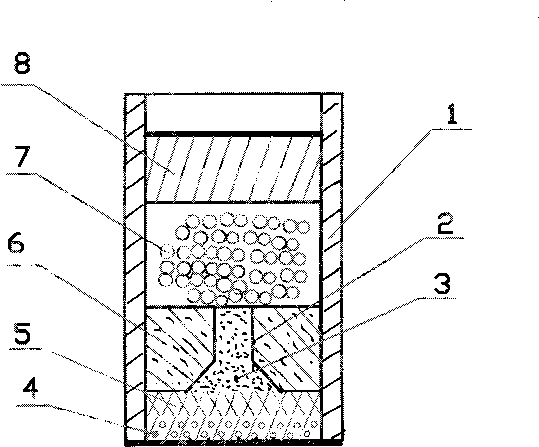
一种新型引线烟花
图片尺寸1108x918
华越国际没有它许幻山设计的再厉害烟花也绽放不起来
图片尺寸640x338
烟花的内部构造.
图片尺寸660x880
传统烟花爆竹结构图67676767长见识了
图片尺寸690x828
烟花横截面
图片尺寸393x700
电子礼炮结构图人们使用电路控制电磁阀,向炮管中按照比例充入氧气与
图片尺寸589x549
烟花的内部结构.
图片尺寸622x327