烟道导向盒

一楼烟道不锈钢排烟盒,支持各种尺寸定做,201级304级不锈 - 抖音
图片尺寸1262x952
烟道板设备_烟道板生产线
图片尺寸850x566
南向厨房,因为是一楼,可以在烟道位置做改动,一来增加使用面积,二来
图片尺寸4096x3072
楼房烟道堵了怎么办
图片尺寸500x364
烟囱防雨帽排烟风口别墅豪宅民宿屋顶排气换气围墙柱头装饰金属盒
图片尺寸400x400
多少归 求盒上色有烟道什烟钱黑 盒个 么字
图片尺寸500x667
后的厨房大型油烟机郑州天得一油烟管道清洗业务坚持以客户需求为导向
图片尺寸801x600
3.22工作总结-工程二部水暖安装-朱行超
图片尺寸2448x3264
烟道和高柜之间有个空隙宽24厘米 深度29厘米这个位置以前放过小菜
图片尺寸1080x1440
然后再用密封盖把油烟导向一个地方,不让烟道倒灌回来的一个物品,最后
图片尺寸640x808
烟道的顺畅很影响抽吸的体验,以及斗草开盒后一个月的状态.
图片尺寸1080x810
凤阳桥西安置房四期工程--施工日报
图片尺寸2667x2000
这个藏在厨房的"火灾帮凶"你家可能也有_油垢_管道_烟道
图片尺寸1000x504
层次感北向这边是个储物间南向厨房,因为是一楼,可以在烟道位置做改动
图片尺寸4096x3072
考虑烟道要不要打掉
图片尺寸1199x1599
防火烟道止回阀,烟道止逆阀,室外防风帽,导向管,青岛金鹏阀门有限公司
图片尺寸692x542
安装;顶部轴承和驱动装置安装;转子驱动装置安装;顶部导向轴承箱安装
图片尺寸1972x1190
换句话说,不要在烟道上随意开口放置导向管.
图片尺寸865x684
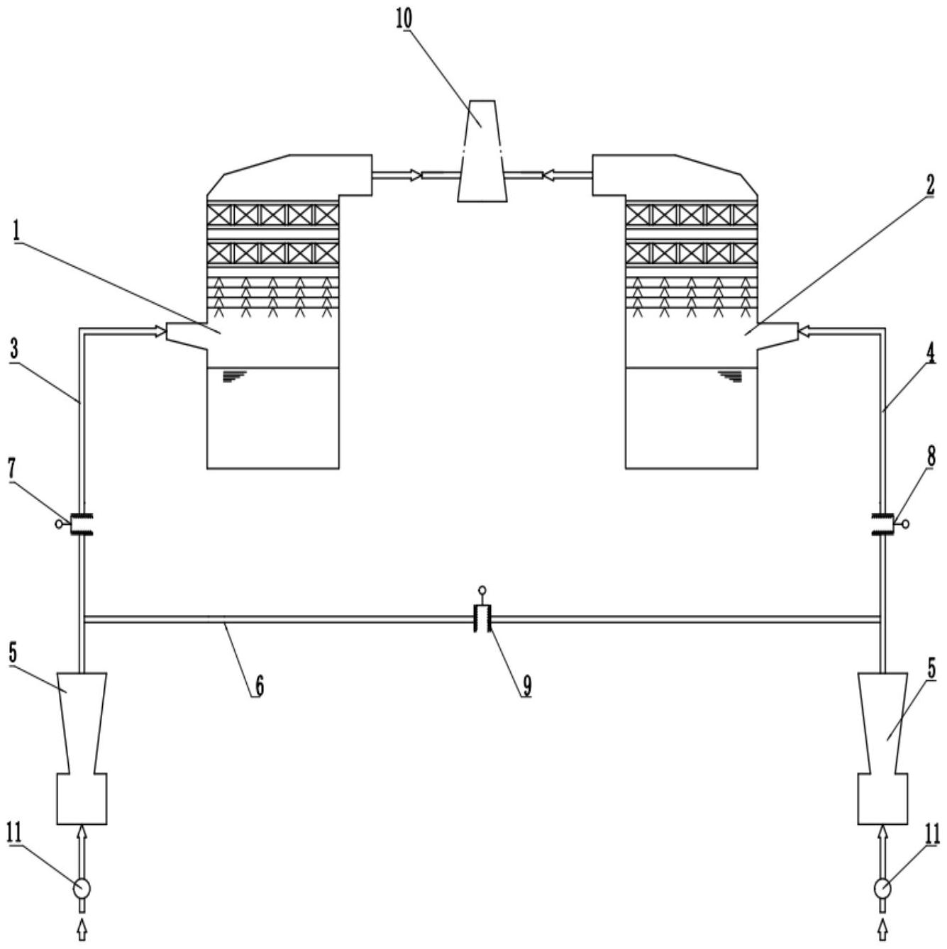
和第二脱硫机构,所述第一脱硫机构通过第一连接管路与除尘烟道连通,所
图片尺寸1335x1338
及配件 来图定制,破碎机配件高铬铸铁耐磨衬板 消失模铸造导向板btmc
图片尺寸750x750