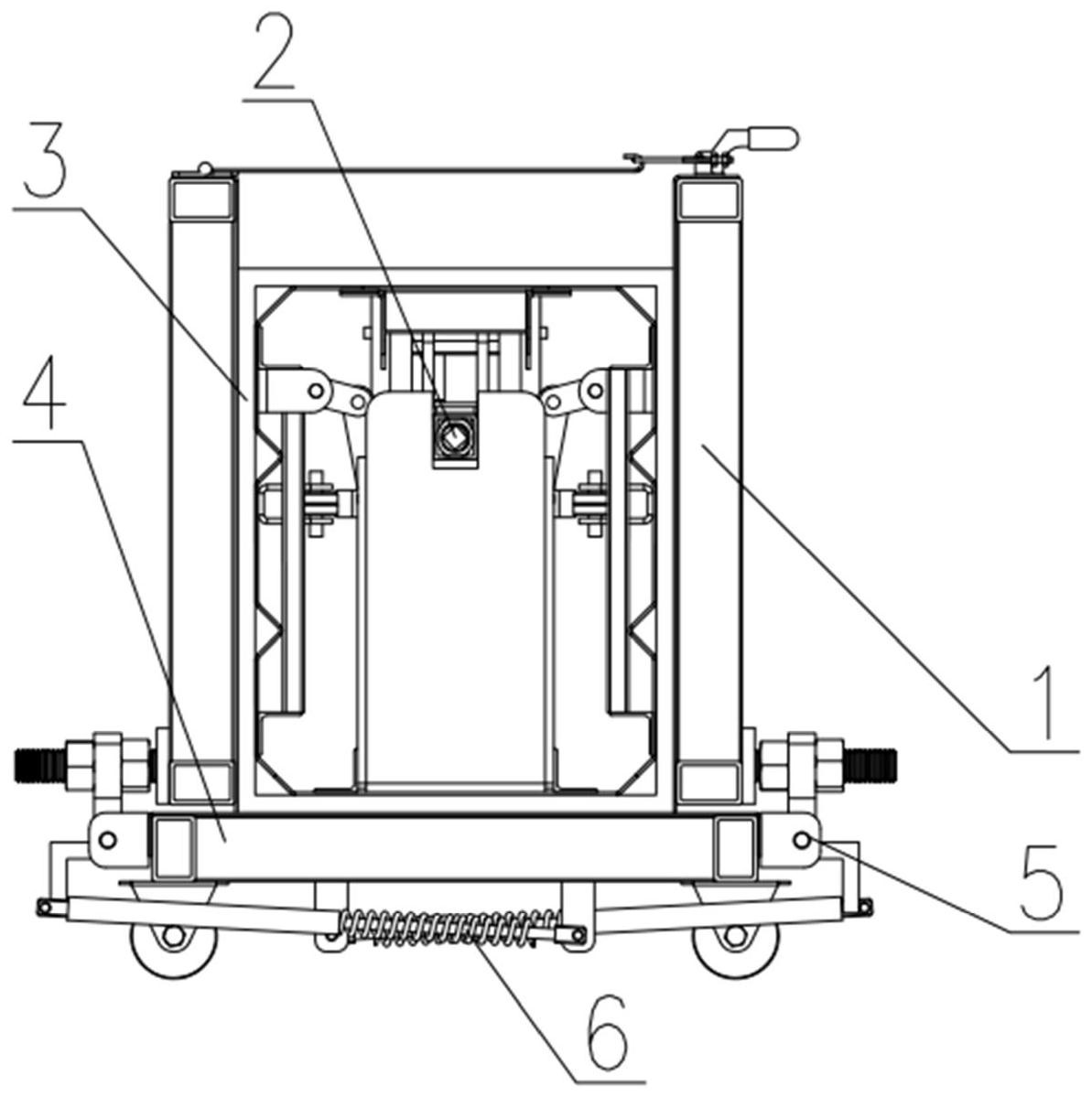
烟道模具

一种顶升收缩式烟道成型模具-爱企查
图片尺寸1193x1199
烟道模具 (18)1.jpg
图片尺寸860x638
烟道模具 厨房用 水泥制品
图片尺寸1440x1080
异型管模具
图片尺寸1024x707
烟道模具 (17)1.jpg
图片尺寸860x582
cn213674679u_一种旋转推拉三面收张式烟道内模有效
图片尺寸1526x1157
栖霞烟道模具公司
图片尺寸400x400
安徽马鞍山烟道模具机器壁厚可以任意调节
图片尺寸561x600
水泥烟道机厂家 全自动机制烟道机价格 可调式更换模具水泥烟道机
图片尺寸750x750
烟道水泥成型机 楼房通风排烟管道设备 定制模具尺寸水泥烟道机
图片尺寸800x800
新型气动烟道机更换模具方便,只需20分钟就能换好,烟道机多少钱
图片尺寸1080x1920
厂家直销水泥预制通风烟道罩模具
图片尺寸1099x788
安徽自主研发的第四代烟道机脱模不再是难题
图片尺寸260x339
机制烟道机 水泥烟道机 易脱模不漏浆 通风道机器烟道模具-阿里巴巴
图片尺寸800x800
烟道模具 (24)1.jpg
图片尺寸860x360
海阳机制烟道模具批发恭请合作
图片尺寸400x400
全自动烟道管成型机 优质水泥烟道机 多功能水泥烟道设备
图片尺寸1280x1176
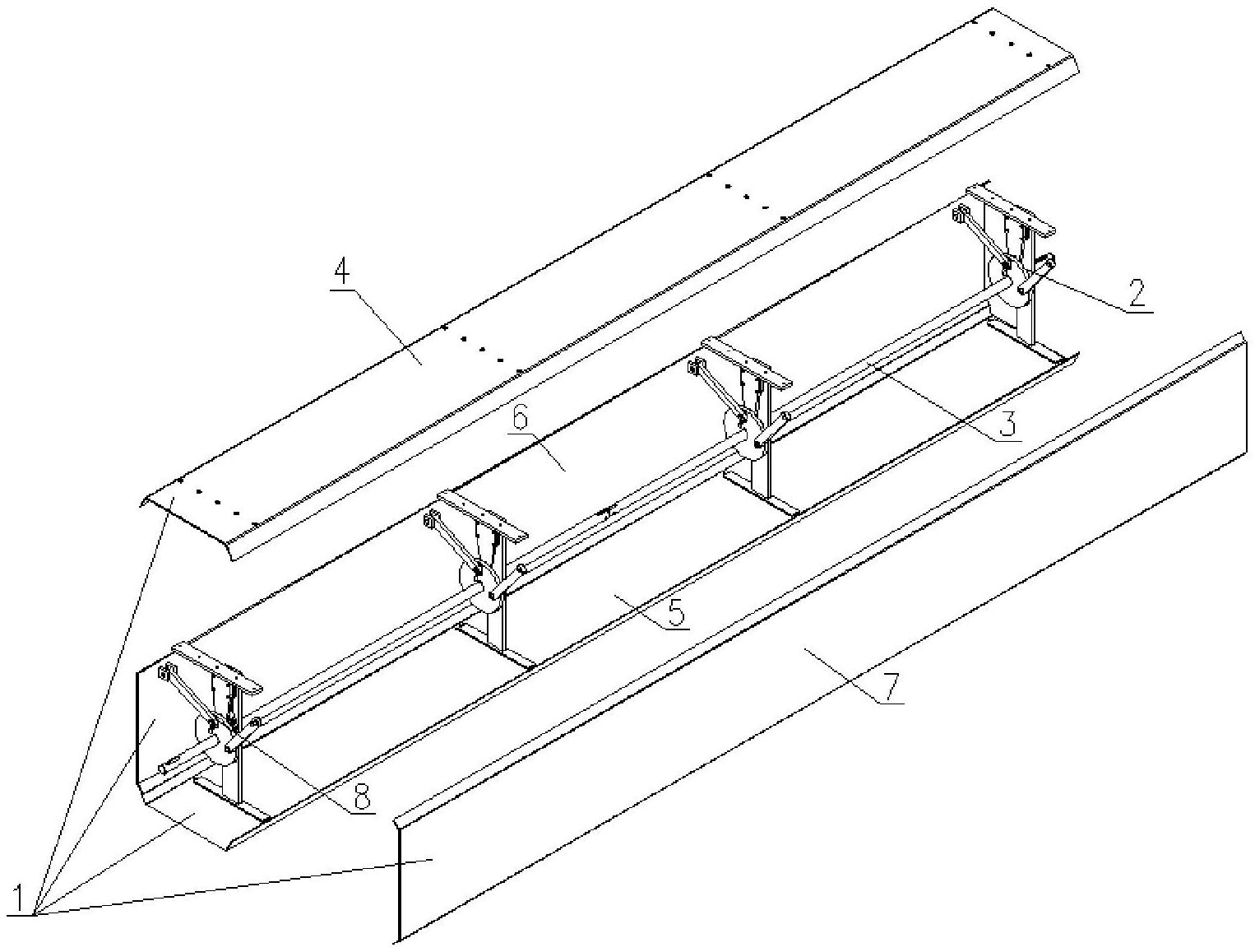
的通风烟道; ②,操作简单方便,脱模容易,对生产技术要求低;模具生产
图片尺寸492x614
水泥烟道机烟道技术指标
图片尺寸850x1133
烟道机
图片尺寸400x533