烟雾报警器结构图

烟雾报警器系统 - 2020年最新商品信息聚合专区 - 百度爱采购
图片尺寸1296x590
一种光电式烟雾报警器
图片尺寸1856x1902
独立式火灾探测报警器的分类概述及应用
图片尺寸1080x364
盛赛尔jtyj-gd-2630/b独立式感烟火灾探测报警器
图片尺寸550x230
一种新型全数字式多接口烟雾报警器
图片尺寸1698x1605
一种具有电池状态单向切换功能的烟雾报警器
图片尺寸1504x2165
一种基于窄带物联网的光电式烟雾报警器的制作方法
图片尺寸1000x796
95镅烟雾报警器的元素
图片尺寸1025x493
消防火灾烟雾报警系统无线烟雾报警器433工业级远距离传送烟感器
图片尺寸800x903
室内装修联网型烟感报警器9v用普通供电烟雾报警器ss168a海晟
图片尺寸756x541
烟雾报警器的制作方法
图片尺寸1000x744
怡生智居烟雾报警器 - 火灾无情,预防为先
图片尺寸640x316
cn211479249u_烟雾探测报警器有效
图片尺寸1931x1111
厂家优惠直接安吉斯烟雾报警器
图片尺寸697x665
烟雾报警器的制作
图片尺寸460x329
易于安装的烟雾报警器的制作方法
图片尺寸708x1000
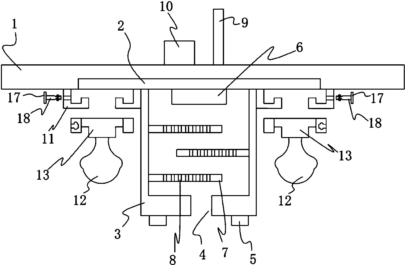
一种烟雾报警器
图片尺寸1683x1100
背景技术:现有技术下的烟雾报警器结构过于复杂,由于缺少必要的烟雾
图片尺寸911x1000
dg822烟雾报警器独立式光电感烟探测器9v电池供电独立烟感器烟感
图片尺寸790x1125
烟雾报警器家用商用独立式无线烟感探测器火灾烟感器消防安吉斯出租房
图片尺寸520x468