烤肠机简笔画

一种便于清洁的烤肠机
图片尺寸1000x997
一种烤肠机的制作方法
图片尺寸443x342
双层烤肠机(hdg-20sz)-爱企查
图片尺寸417x553
一种双层烤肠机的制作方法
图片尺寸1000x953
热狗机(ks91-a)
图片尺寸936x714
一种自动杀菌的烤肠机的制作方法
图片尺寸1000x875
一种香肠机的制作方法
图片尺寸1000x606
制作的方法很简单,味道也被人们认可,但是在市场上出现的烤肠机却有着
图片尺寸1000x743
cn109864602a_一种自动杀菌的烤肠机在审
图片尺寸1000x875
cn208837683u_一种烤肠机
图片尺寸1000x629
烤肠营业咯插画教程
图片尺寸1080x1440
热狗机
图片尺寸528x520
燃气烤肠机的制作方法
图片尺寸908x664
一种多功能新型烤肠机的制作方法
图片尺寸1000x810
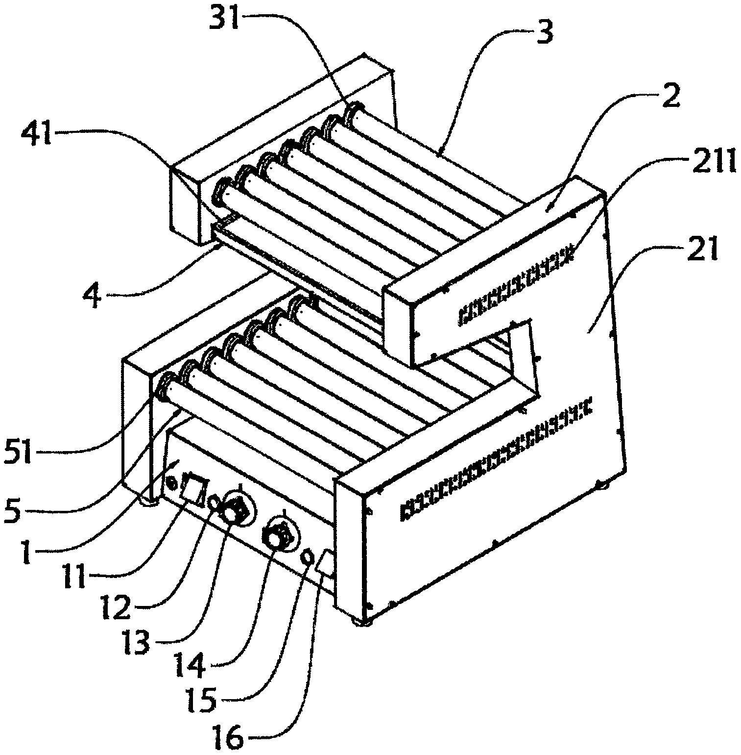
一种双层烤肠机
图片尺寸1513x1540
一种烤肠机的制作方法
图片尺寸1000x633
通常还将其称为香肠机,烤肠机
图片尺寸444x418
一种家用节能烤肠机的制作方法
图片尺寸1000x605
简笔画教程烤肠机
图片尺寸535x500
台式烤肠机
图片尺寸622x576