烤肠机线路接法

双板16串烤肠机 前置接油盒 观火口
图片尺寸800x800
烤肠机的日常保养
图片尺寸640x853
方厨烤肠机商用新款烤香肠机器全自动摆摊小型台式台湾烤热狗肠
图片尺寸1500x2322
请教大师油烟机接线方法
图片尺寸2000x2000
一喜烤肠机香肠热狗机配件带齿轮12齿10齿60ktyz永磁同步电机马达
图片尺寸750x667
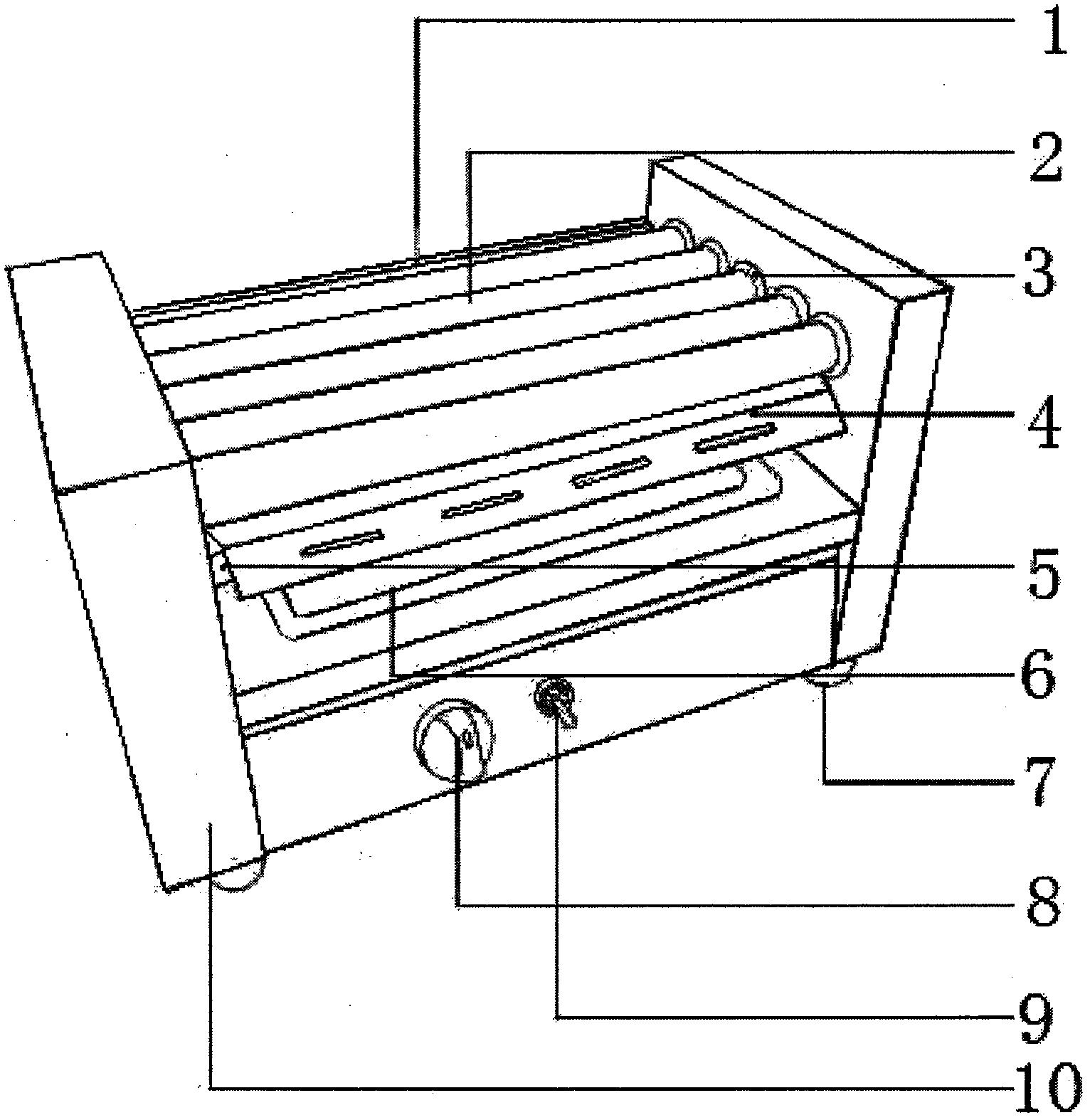
一种燃气烤肠机
图片尺寸1532x1574
上几张图,看看电工破壁机电路图详解拖拉机发电机接线
图片尺寸1159x860
电路接线图 #电工知识每日一学 这就是日常常见到的线路接法
图片尺寸1200x2652
热力学加热原理在烤肠机中的应用
图片尺寸800x800
全自动烤肠机家用迷你烤香肠机器电热款小型台式热狗
图片尺寸800x800
双板16串烤肠机 外接油槽效果好
图片尺寸800x800
电路接线图 ,温控线路仅供参考
图片尺寸1918x1356
小型迷你宿舍专用款全自动热狗机三合一 白色6管
图片尺寸800x800
电烤盘宿舍神器火腿肠机器 六管烤肠架 接油盘 烤盘 烤网 烤碟配礼包
图片尺寸800x800
新款外置接油煤气16管烤肠机
图片尺寸800x800
铁板烤肠机与煤气罐连接,多功能组合让你一机多用
图片尺寸720x960
烤肠机放床头的梦想总算实现了😂#记录生活
图片尺寸2160x3200
小型多功能热狗机宿舍神器电烧烤盘 白色六管
图片尺寸800x800
百春宝德国品质烤肠机家用新款多功能电烤炉烧烤炉烤肉烤串烤架简 六管(烤肠架 烤盘 接油盘)
图片尺寸800x800
实木1500w大功率电火箱火桶取暖器扇电暖炉无极调
图片尺寸800x800