烧结机结构

带式烧结机结构示意图
图片尺寸530x302
cn101036032a_带式烧结机的加料装置失效
图片尺寸1861x1946
供应80-380立方米高炉炉顶设置环型烧结机-节能烧结机-铬矿烧结机
图片尺寸801x1024
刚性滑道鼓风烧结机头部星轮组件
图片尺寸1940x1520
一种圆筒形结构持续式烧结机
图片尺寸933x836
热压烧结机单相加热方式的工作原理
图片尺寸600x352
cn201289289y_节能型金刚石制品三相变频热压烧结机有效
图片尺寸1585x1931
102m2烧结机总图
图片尺寸715x515
一种烧结机铺底料分料装置的制作方法
图片尺寸1000x948
烧结机安装
图片尺寸1148x559
二步法无助力烧结机脱硫净化方法及设备
图片尺寸2124x2368
360㎡烧结机原料结构优化实践-江苏省钢铁行业协会
图片尺寸446x654
烧结机智能给料门
图片尺寸1531x1758
52m2带式烧结机详细总装配图纸机械设备cad图纸
图片尺寸1019x697
一种铁矿石烧结机系统漏风率的测试方法与流程
图片尺寸1000x701
烧结机柔性传动装置结构优化改造实践
图片尺寸332x289
捷太格特(jtekt)改良版钢铁设备用烧结机托盘台车加压滚子用轴承
图片尺寸656x263
邯钢2-360m2烧结系统电除尘通讯改造
图片尺寸1069x610
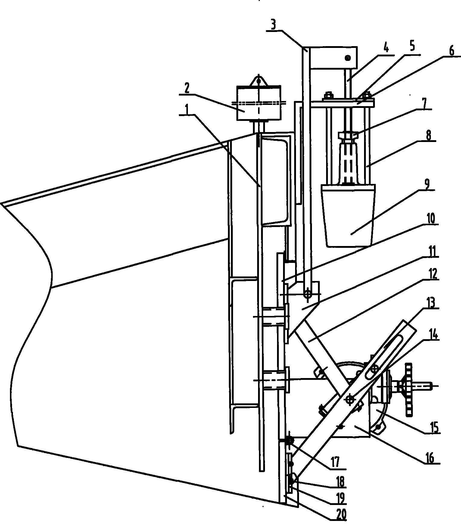
一种烧结机的制作方法
图片尺寸1000x463
通过对130(180)m2烧结机配料(分料)电子皮带秤在结构上的改造设计见
图片尺寸500x293