烧结机 示意图

带式烧结机
图片尺寸720x432
带式烧结机结构示意图
图片尺寸530x302
烧结矿的制造方法及烧结机
图片尺寸2687x1847
二步法无助力烧结机脱硫净化方法及设备
图片尺寸2124x2368
102m2烧结机总图
图片尺寸715x515
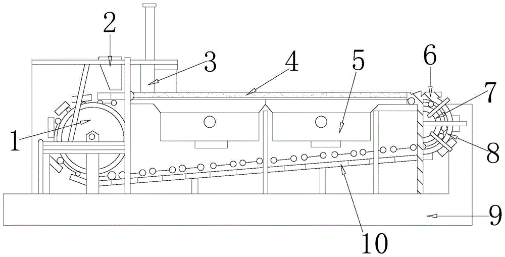
cn109883201a_一种防起拱的带式烧结机
图片尺寸1000x509
一种铁矿石烧结机系统漏风率的测试方法与流程
图片尺寸1000x701
烧结机柔性传动中弹性拉压杆的初紧力调整实践
图片尺寸1069x610
一种烧结机铺底料分料装置的制作方法
图片尺寸1000x948
52m2带式烧结机详细总装配图纸机械设备cad图纸
图片尺寸1019x697
cn101036032a_带式烧结机的加料装置失效
图片尺寸1861x1946
cn201289289y_节能型金刚石制品三相变频热压烧结机有效
图片尺寸1585x1931
430m2烧结机cad图纸
图片尺寸820x573
图3-3烧结机料层焙烧示意图
图片尺寸742x375
烧结机大烟道内置式余热锅炉水泄漏的判断方法技术
图片尺寸1000x555
cn201104096y_全自动金刚石制品真空热压烧结机失效
图片尺寸1846x2046
烧结机安装
图片尺寸1148x559
水密封环形烧结机制造技术
图片尺寸1000x982
大型烧结环冷机销齿柔性传动系统
图片尺寸1367x1096
钢厂大型烧结机头布袋式除尘器图纸工作流程
图片尺寸773x486