热机简笔画

暖风机(小呆)
图片尺寸776x1071
大机webasto暖风机
图片尺寸884x688
暖风机(5)
图片尺寸608x714
暖风机
图片尺寸768x846
暖风机(hf-a10)
图片尺寸620x826
暖风机(ph-168)
图片尺寸600x825
加热器
图片尺寸256x256
cn306274434s_暖风机(ym872)有效
图片尺寸294x431
「经典习题周周练」第十四章 内能的利用 第1节 热机
图片尺寸335x552
暖风机
图片尺寸512x815
热饮料机(crm8101)
图片尺寸1016x1418
挂烫机卡通简笔画
图片尺寸422x500
cn304718209s_暖风机有效
图片尺寸1199x1417
各种各样的取暖工具简笔画
图片尺寸488x567
暖风机(qg20-t15)
图片尺寸772x960
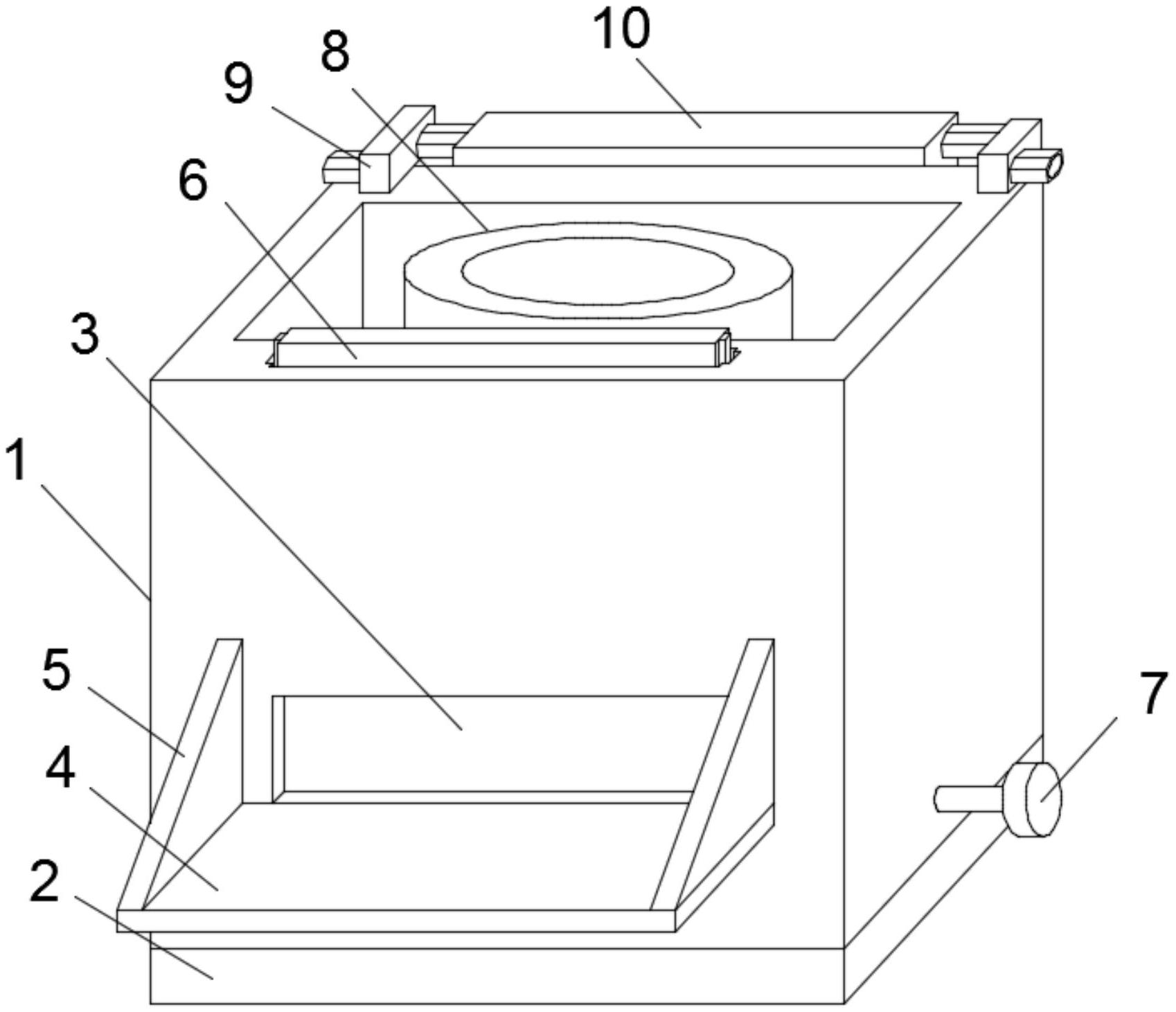
本实用新型公开了一种纺织原料加热机,包括热机主体,所述热机主体的
图片尺寸1698x1461
热机工作简笔画
图片尺寸500x762
暖风机(ptc暖风机-ntw)
图片尺寸1440x1666
蒸汽机图标设置, 轮廓样式插画-正版商用图片190ihe-摄图新视界
图片尺寸700x700
cn301280454s_暖风机(09826-05)失效
图片尺寸477x633