热水瓶结构图

cn2067536u_握力式汽压暖水瓶失效
图片尺寸800x1000
电热水壶的结构与工作原理
图片尺寸500x533
劣质保温杯遭央视多次曝光重金属析出有毒且伤身购买要谨慎了
图片尺寸1000x691
钱江晚报
图片尺寸292x594
合肥一六八中学:行胜于言 实践出真知
图片尺寸242x309
电热开水瓶的种类与基本结构原理
图片尺寸635x440
象印cwlf-r30型气压热水瓶说明书
图片尺寸904x1280
摘要附图摘要本实用新型提供一种具有以下结构的保温瓶:包括瓶体及盖
图片尺寸557x800
热水瓶
图片尺寸1080x810
一种可控暖水瓶制造技术
图片尺寸802x1000
歌林pj-j40m型电动热水瓶使用说明书
图片尺寸921x1280
cn2082584u_自流式保温瓶失效
图片尺寸800x1426
方便使用的安全感温水瓶的制作方法
图片尺寸777x1000
一种防倒的热水瓶
图片尺寸1327x2243
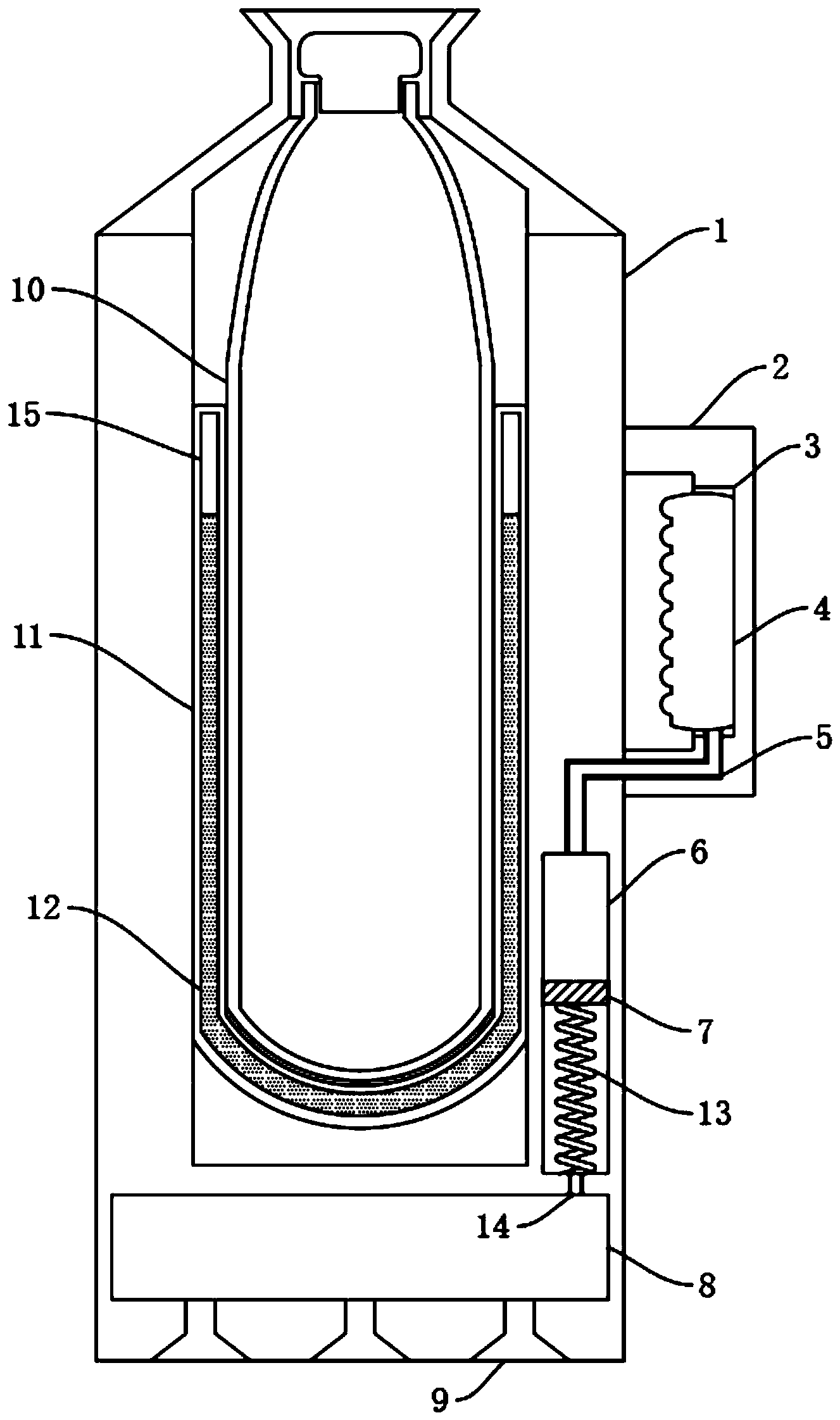
一种保温壶的制作方法
图片尺寸793x1000
由于在家庭中保温瓶主要用于热水保温,故又称热水瓶.
图片尺寸400x302
cn87205865u_具有保温装置的气压热水瓶失效
图片尺寸1472x1731
一种不再漏水的暖水瓶
图片尺寸430x557
cn201798603u_提行时可防滴水的热水瓶失效
图片尺寸800x1133
cn2042336u_杯触出水保温瓶失效
图片尺寸800x1044