热水锅炉结构图

二, 热水/取暖(兼用)锅炉的结构名称
图片尺寸609x550
卧式锅炉,贯式锅炉,热水锅炉,电热锅炉,专利油炸锅,热媒锅炉,烧材锅炉
图片尺寸728x892
锅炉的基本构造和工作过程
图片尺寸1153x827
全自动锅炉 锅炉节能 上海锅炉厂 培训册 培训会 家用锅炉 热水锅炉
图片尺寸1080x810
两用型锅炉,热水循环; 单采暖锅炉加单盘管热水 - 抖音
图片尺寸1079x1073
水管锅炉由于其结构安排合理,性能比较完善,经济技术指标比较先进
图片尺寸500x546
锅炉
图片尺寸701x514
卧式热水燃气锅炉
图片尺寸2053x1195
鸿泰立式锅炉内部结构图clhs全自动燃油,燃气热水锅炉为燃烧器下置烟
图片尺寸1500x960
链条锅炉结构图
图片尺寸640x436
四通cwns1吨/60万大卡卧式燃气常压热水锅炉主要特点
图片尺寸748x626
合肥真空热水锅炉生产厂家 4吨真空热水锅炉全套多少钱太锅锅炉厂
图片尺寸833x640
锅炉 电热锅炉 冷凝式低氮热水锅炉1,低氮冷凝锅炉结构: 该锅炉由模块
图片尺寸614x354
cwns型燃油气热水锅炉具有结构紧凑,安全可靠,操作简便,安装迅速,污染
图片尺寸935x687
热水锅炉
图片尺寸323x382
真空热水锅炉直销安全高效使用寿命长燃油气30万大卡
图片尺寸669x336
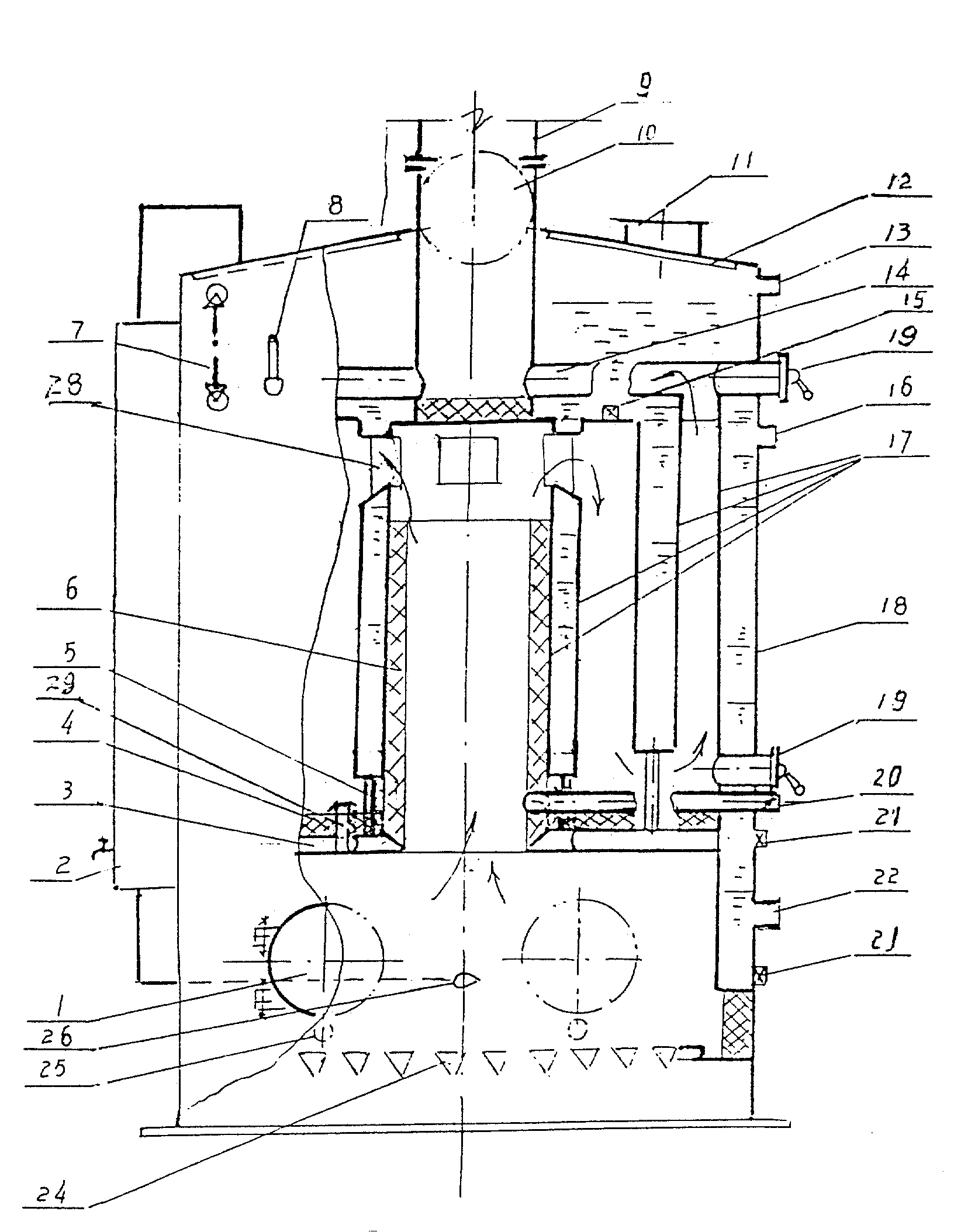
单锅筒立式水管锅炉
图片尺寸1664x1951
套筒式常压热水锅炉
图片尺寸1632x2108
直观基础││三维动画,图片展示锅炉结构,从锅炉本体到辅助设备
图片尺寸1080x638
典型工业锅炉结构详解
图片尺寸598x482