热流道阀针运动示意图

阀针式热流道运动原理
图片尺寸640x442
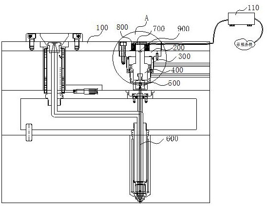
热流道用导轨式针阀运动装置的制作方法
图片尺寸1000x633
热流道阀针真空镀钛/顶针真空镀钛,提供如下涂层服务{tin,ticn,altin
图片尺寸298x240
热流道微型针阀热嘴结构-爱企查
图片尺寸1300x1195
针阀式热流道 阀浇口热流道生产厂家诚招全国各地代理商 经销商
图片尺寸750x487
注塑模具热流道技术及其最新发展
图片尺寸640x635
一种可断胶的双控热流道针阀系统的制作方法
图片尺寸712x1000
热流道的动作装置
图片尺寸500x225
一种可检测阀针运动的热流道
图片尺寸548x423
分喷嘴,加温和测温元件,安装和紧固零件,(个别热流道还必须有:阀针
图片尺寸640x312
6点顺序针阀式热流道设计图纸合集的封面图
图片尺寸285x253
66斜针阀热流道设计
图片尺寸548x408
点顺序针阀热流道计
图片尺寸820x431
34顺序针阀热流道 - 阀体图纸 - 沐风网
图片尺寸604x289
超薄单点针阀热流道系统的制作方法
图片尺寸1000x837
单点针阀式热流道系统的制作方法
图片尺寸711x1000
针阀式热流道模具及阀针组件的制作方法
图片尺寸913x1000
一出二针阀式热流道
图片尺寸500x354
阀针和具有该阀针的热流道系统-爱企查
图片尺寸678x1055
76点顺序针阀热流道计
图片尺寸681x415