热熔机结构图

1热机ppt
图片尺寸1080x675
pur自动热熔胶点胶机固态热熔胶涂胶机点胶平台四轴可旋转点胶机
图片尺寸1920x1764
cn201553924u_蒸汽挂烫机失效
图片尺寸1780x2532
一种防烫伤且易操作的ppr热熔器的制作方法
图片尺寸1000x608
一种手持式挂烫机
图片尺寸1000x808
超声波热熔机制造技术
图片尺寸827x903
一种带计长功能的用于抽气袋加工的双边热熔封口机
图片尺寸1611x1167
厂家供应气动冲床/气动热熔机,卡片冲压机,铆接设备
图片尺寸762x548
厂家供应30ccpur热熔胶点胶机广告机边框手机壳蓝牙耳机点胶机
图片尺寸800x800
一种光缆热熔设备制造技术
图片尺寸1000x561
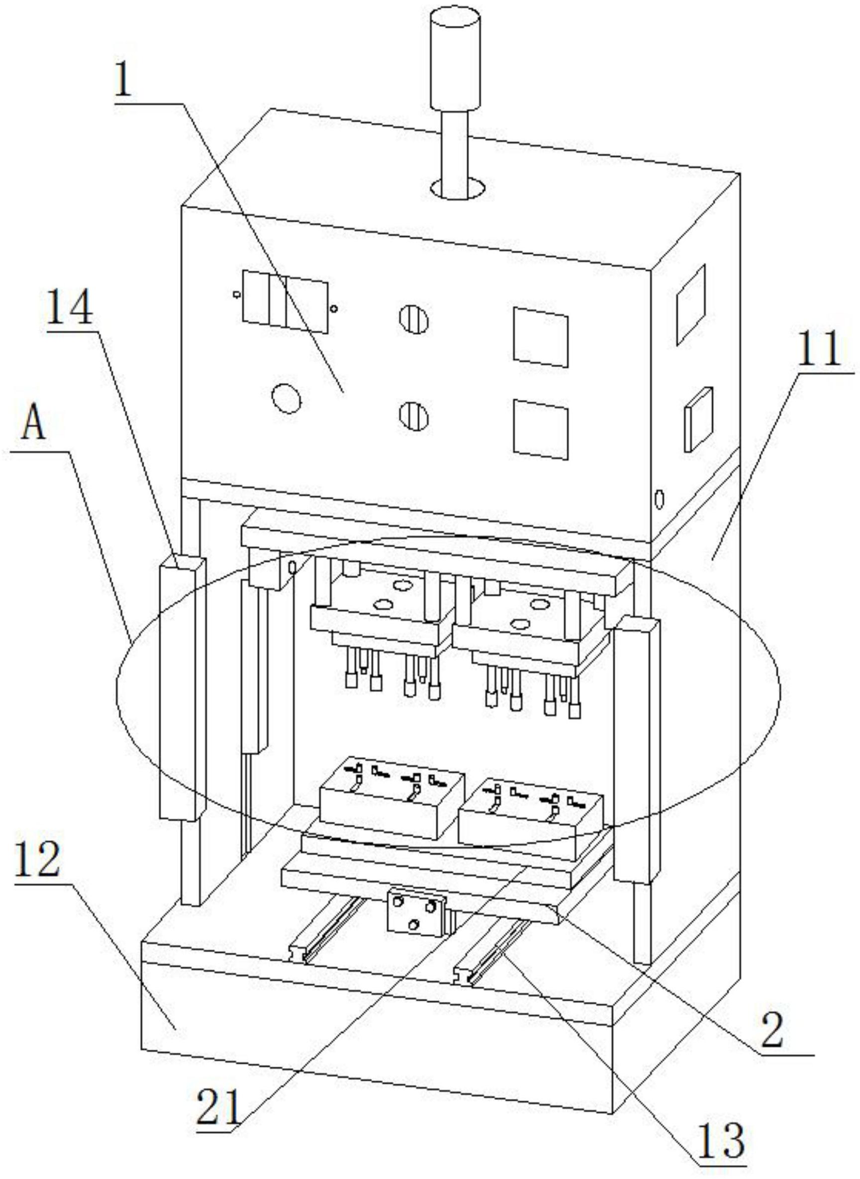
主体外壳,底座,工型滑块,安全防触机构,定位结构,下压热熔结构,本实用
图片尺寸1729x2370
烫机烫水管电子数显水管接头ppr热熔器模快接热容器 水电工程家用焊接
图片尺寸790x1263
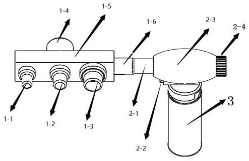
2.结构示意图
图片尺寸552x471
化妆品包材热熔胶点胶机 精泰 点胶机厂家直销 106p热熔胶点胶机
图片尺寸1149x816
一种具有均匀撒粉机构的热熔胶复合机-爱企查
图片尺寸1910x950
厂家供应30ccpur热熔胶点胶机广告机边框手机壳蓝牙耳机点胶机
图片尺寸1749x1920
包括热熔机,热熔机设有导热板,导热板内部为空心结构,导热板上开设有
图片尺寸494x321
一种纤维板热压机_cn201821842935.4_知雀网
图片尺寸1000x937
热熔划线机一体机手推式停车位塑胶跑道标线机道路冷喷划线车画线
图片尺寸750x840
航空航天材料背后的功臣电渣重熔炉
图片尺寸671x637