焊接摆动器原理图

cn2613337y_一种自动焊枪摆动器失效
图片尺寸562x709
焊机焊枪角度摆动调节机构的制作方法
图片尺寸1000x861
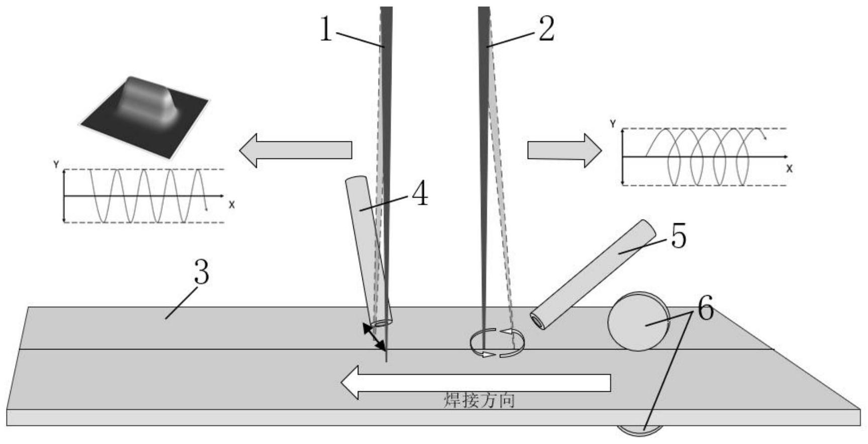
一种埋弧焊机机头摆动装置及其摆动埋弧焊接方法
图片尺寸1946x1504
crb2bs30-180s,smc叶片式摆动气缸原理 - 仪器交易网
图片尺寸310x444
自动焊接技术与装备轨道焊机结构与组成如图1所示,其工作原理为:横向
图片尺寸602x371
一种摆动夹取送电线焊接装置制造方法及图纸,焊接摆动器专利_技高网
图片尺寸625x1000
cn105598615a_随动焊枪摆动器有效
图片尺寸672x602
一种alsi涂层热成型钢双摆动激光焊接方法
图片尺寸1727x883
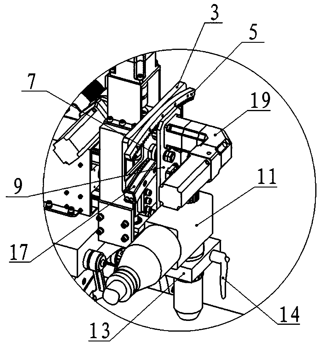
设置在固定板上且与全位置焊接机的焊枪相连接的用于带动焊枪摆动的摆
图片尺寸1077x1161
crb2bwu40-90d 日本smc摆动气缸crb2bwu40-90d-化工仪器网
图片尺寸903x1300
旋转摆动气缸msqb10a/20a/30a50a齿轮式气动转盘
图片尺寸790x980
焊机焊枪角度摆动调节机构
图片尺寸1000x861
基于plc的焊接摆动器控制系统设计
图片尺寸439x324
二氧化碳气保焊机头外观示意图(图中尺寸以实物为准)精密焊接摆动器
图片尺寸414x302
自动焊接摆动器 摇摆器 自动焊接小车 直线焊 焊缝填充器 直缝焊
图片尺寸960x960
机械设备用焊接摆动器 焊枪摇摆器 自动焊接摆动器
图片尺寸800x800
带焊枪随动装置的焊接摆动器
图片尺寸796x521
带焊枪随动装置的焊接摆动器
图片尺寸416x521
不用编程的焊接摆动器
图片尺寸1080x1080
磁力管道摆动器 加装设备 气保焊摇摆器 自动焊
图片尺寸1080x1440