焊接框架步骤图

焊接工艺流程图
图片尺寸1240x1753
承压类特种设备常用的焊接方法
图片尺寸700x457
焊接方法
图片尺寸1368x990
acf焊接工艺流程
图片尺寸2000x1125
焊接机架框架平台
图片尺寸480x680
一种框架焊接装置的制作方法
图片尺寸444x263
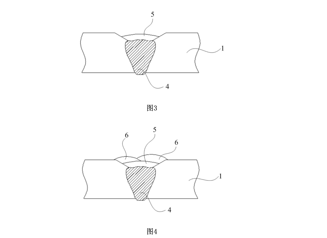
一种厚板单面焊接方法
图片尺寸1312x956
框架柱平法9--机械和焊接连接中间层纵筋的计算
图片尺寸1080x621
一种铝合金门窗框架焊接装置的制作方法
图片尺寸1595x1465
一种集装箱框架焊接装置的制作方法
图片尺寸1887x1399
方管焊接简易房
图片尺寸893x1263
焊接h形钢结构建筑制作安装工法
图片尺寸651x434
铁艺焊接铁架定制框架定制各种铁架子镀锌方管架子置物架组装骨架
图片尺寸1080x1080
一种用于陶瓷电容器焊接的框架的制作方法
图片尺寸849x1000
一种铝合金门窗的框架焊接装置的制作方法
图片尺寸1537x1380
蒸烤一体集成灶用包装框架及其焊接方法
图片尺寸1942x2107
浩辰3d「框架设计」 「一键生成bom表」,巨好用!
图片尺寸900x737
ha深潜器钛合金框架结构装配焊接工艺研究_第3页
图片尺寸920x1302
一种翻转式电动三轮车框架焊接工装
图片尺寸1361x1296
火箭发动机整体框架结构及其使用的焊接装置的制作方法
图片尺寸1759x1516