焊炬结构

气焊设备氧气瓶乙炔瓶减压器焊炬等
图片尺寸580x356
低压焊炬的构造.png
图片尺寸398x256
松下tig氩弧焊机用水冷氩弧焊枪yt-308tpw直柄焊炬
图片尺寸794x2813
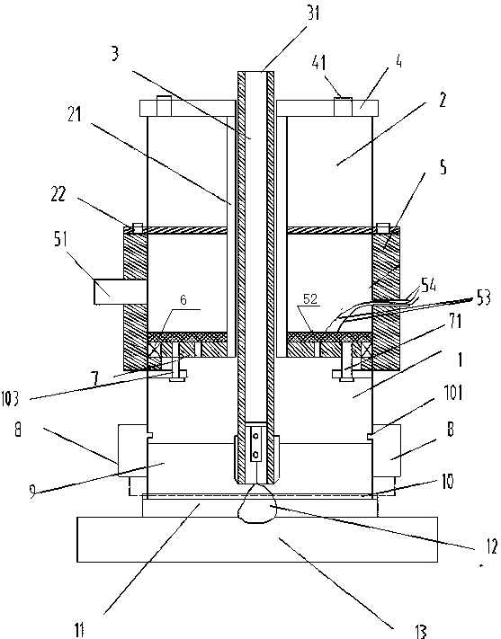
一种具有吸气结构的激光电弧复合焊接焊炬的制作方法
图片尺寸443x422
wately威特力射吸式焊炬6型12型焊枪氧气乙炔焊枪6型
图片尺寸750x1076
一种射吸式焊炬多孔焊嘴-爱企查
图片尺寸331x371
一种金属切削焊接用射吸式焊炬制造技术
图片尺寸1000x373
一种手持焊炬
图片尺寸1000x518
cn106439818a_一种金属切削焊接用射吸式焊炬在审
图片尺寸1000x369
供应唐山松下yt-50cs4hae气保焊机 原装yc-50cshae弯柄焊炬现货
图片尺寸698x702
等压式焊炬割炬docx
图片尺寸1042x1425
等压式焊炬割炬docx
图片尺寸1042x1425
焊枪
图片尺寸600x450
cn201783721u_小型便携式气体钎焊焊枪失效
图片尺寸2928x1652
cn109277673a_一种双层气结构水下局部干法gmaw焊炬在审
图片尺寸557x711
机器人焊枪结构
图片尺寸692x455
内部结构1-钨极 2-喷嘴 3-密封环 4-开口夹套 5-电极夹套 6-焊炬本体
图片尺寸789x987
激光焊接焊枪结构图
图片尺寸648x653
cn2032680u_气体火焰双头焊枪失效
图片尺寸2304x1600
焊枪
图片尺寸450x600