焊缝怎么画

4.6-2 焊缝的图示法
图片尺寸1137x788
钢结构工程焊缝表示符号及画法
图片尺寸869x566
一步一步教你画焊接图,识焊接图
图片尺寸544x411
广告位钜惠招租 请教下这种环形焊缝怎么画?
图片尺寸1080x1440
局部剖视图怎么画(非常全面的焊缝知识) - seo葵花宝典
图片尺寸934x470
非常全面的焊缝知识,焊缝标注与焊缝设计,机械工程师必须知道的_搜狐
图片尺寸635x268
怎么画俯视图的焊缝呢还有表示会的麻烦画一下急求上面那个图我是按板
图片尺寸544x360
lisp焊接符号标注非常全面的焊缝知识焊缝标注与焊缝设计机械工程师
图片尺寸640x350
局部剖视图怎么画(非常全面的焊缝知识) - seo葵花宝典
图片尺寸847x475
q3:这个焊缝标注怎么标?氩弧焊
图片尺寸485x285
221表示搭接缝焊,焊缝宽度为6
图片尺寸301x185
焊缝符号表示法
图片尺寸569x524
焊缝的图示法
图片尺寸1399x314
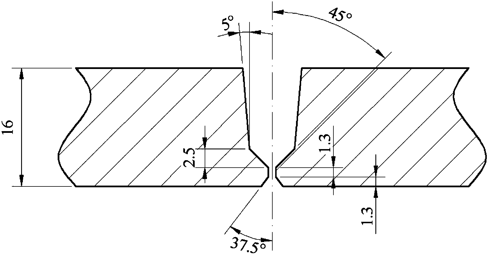
cn105772910b_超高强度高韧性x120级管线钢环形焊缝的焊接工艺有效
图片尺寸1706x891
图15-1 焊缝的画法
图片尺寸544x212
焊缝标注与焊缝设计的知识要点
图片尺寸626x319
局部剖视图怎么画(非常全面的焊缝知识) - seo葵花宝典
图片尺寸826x438
焊缝cad俯视图
图片尺寸622x427
ppt干货焊缝符号及标注方法
图片尺寸836x514
图15-1 焊缝的画法
图片尺寸544x385