焙烧炉结构图

焙烧炉的结构设计的原理
图片尺寸1386x1664
焙烧炉结构
图片尺寸496x552
一种焙烧炉及焙烧方法与流程
图片尺寸994x1000
多膛焙烧炉示意图
图片尺寸600x813
环式焙烧炉_百科_搜搜钢
图片尺寸616x662
双层单稀相焙烧炉
图片尺寸585x1146
一种烧烤炉的制作方法
图片尺寸1000x922
一种内衬可拆卸的悬浮焙烧炉
图片尺寸1414x1759
一种立式外加温焙烧炉结构-爱企查
图片尺寸625x800
带炉盖有火井环式焙烧炉结构示意图
图片尺寸545x591
焦炉烘炉
图片尺寸1176x671
环式焙烧炉
图片尺寸727x694
一种焙烧炉的制作方法
图片尺寸819x1000
x一种预焙阳极焙烧炉的起动方法-爱企查
图片尺寸2481x1248
一种焙烧炉体结构的制作方法
图片尺寸1000x691
一种燃烧式焙烧炉的制作方法
图片尺寸567x1000
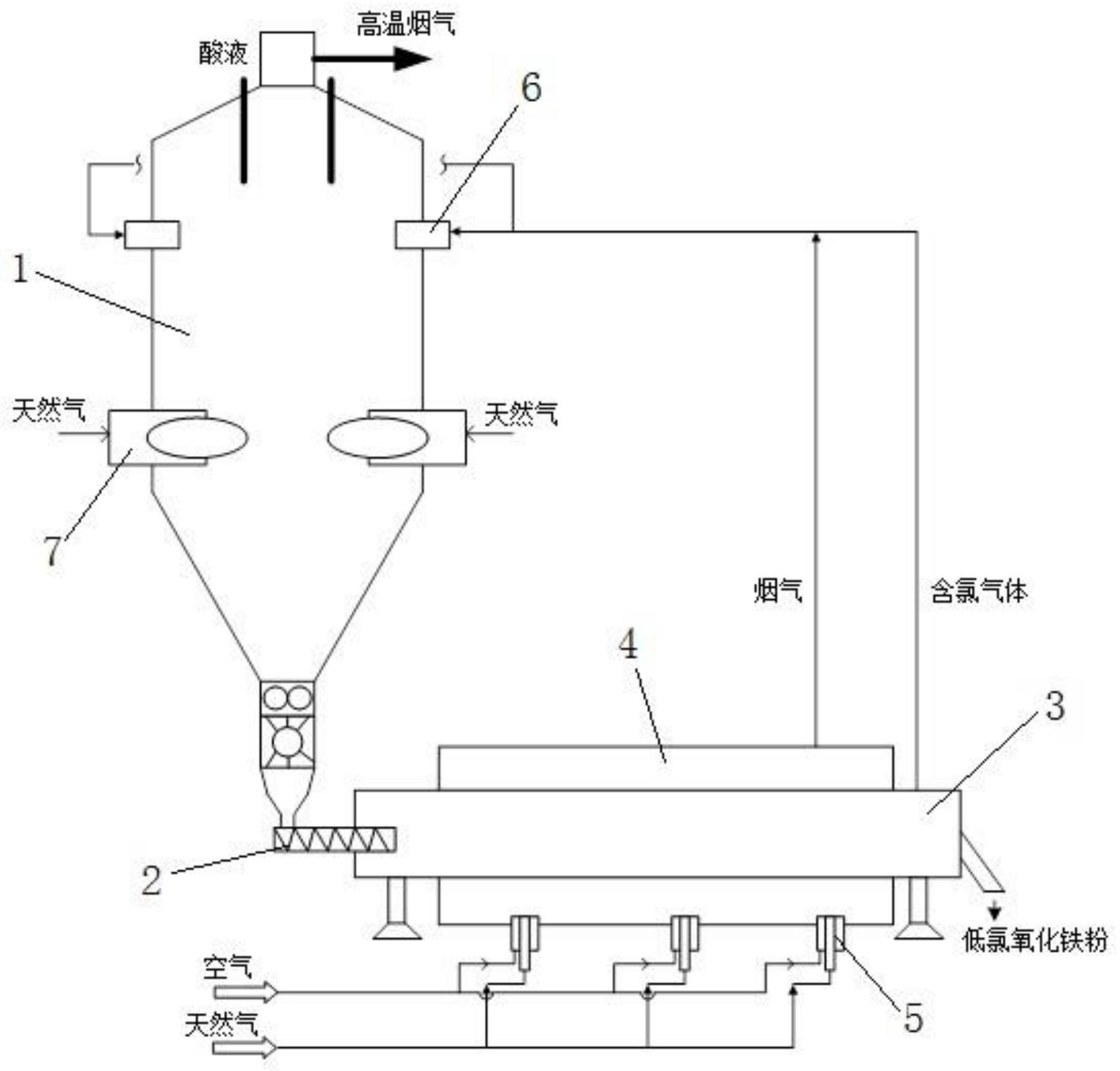
一种降低冷轧酸再生氧化铁粉氯离子含量的焙烧炉系统
图片尺寸1705x1630
因而又常称为阳极焙烧炉,其主要结构有炉底,侧墙,火道,连通火道等几个
图片尺寸640x420
一种内衬可拆卸的悬浮焙烧炉的制作方法
图片尺寸804x1000
cn208487638u_一种焙烧炉窑有效
图片尺寸1546x1977