焦炉炉门结构

一种节能型焦炉炉门结构的制作方法
图片尺寸443x315
焦炉炉门结构简图
图片尺寸600x518
cn2477633y_焦炉炉门失效
图片尺寸353x945![[qc成果]7m焦炉炉门安装工艺创新](https://i.ecywang.com/upload/1/img1.baidu.com/it/u=348828750,3541809450&fm=253&fmt=auto&app=138&f=JPEG?w=560&h=275)
[qc成果]7m焦炉炉门安装工艺创新
图片尺寸560x275
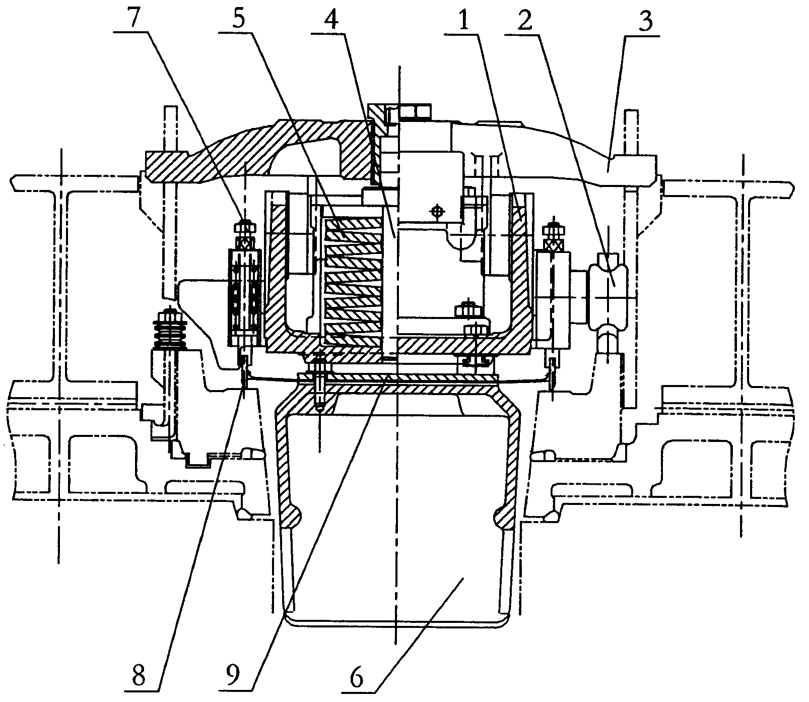
565m高炭化室捣固焦炉炉门
图片尺寸1606x1393
一种新型焦炉炉门-爱企查
图片尺寸1791x1021
焦炉的结构组成及耐火材料的应用
图片尺寸498x574
一种焦炉炉门及炼焦方法
图片尺寸1912x1009
7m焦炉炉门安装工艺创新
图片尺寸794x1123
一种采用上开启加气动密封的真空退火炉炉门结构制造技术
图片尺寸756x1000
一种新型炉门结构的制作方法
图片尺寸1000x831
最新的考伯斯焦炉的结构是双联立火道,两分蓄热室,采用废气循环.
图片尺寸1262x680
一种捣固焦炉翘脚式焦侧炉门
图片尺寸882x1000
钢铁焦炉用耐火材料介绍
图片尺寸682x638
新日铁m式焦炉
图片尺寸1189x703
一种侧开式试验焦炉自动炉门系统-爱企查
图片尺寸1360x1152
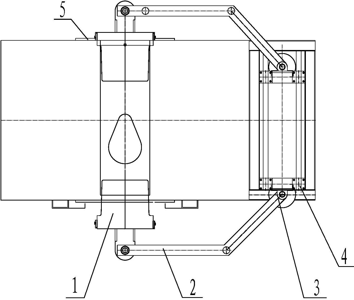
cn201686658u_旋升式开关炉门机构有效
图片尺寸2656x2072
求比较详细的焦炉结构图
图片尺寸857x586
倒焰焦炉结构图
图片尺寸600x445
焦炉烘炉
图片尺寸1176x671