煤气水封结构原理图

一,结构(焦炉煤气管道上使用的两室水封,耐压值20kpa)目前我厂使用的
图片尺寸683x384
注:煤气水封高度超出表列数值或冷凝水进口管为双管或三管时本公司
图片尺寸465x300
一个煤气水封问题
图片尺寸466x364
不知道你们的是什么结构,不插入如何水封. 附图是我们的水封罐
图片尺寸1105x618
谁有煤气水封结构图啊
图片尺寸497x636
防泄漏煤气水封
图片尺寸640x360
图三,水封高度>2000mmh2o防泄漏型方形煤气排水器外形图 表三,水封
图片尺寸550x391
一种直流钛渣电炉煤气柜进口降温式u型水封
图片尺寸1369x1166
一种可以防止煤气泄露的水封式煤气脱水器的制作方法
图片尺寸603x1000
一种新型u型管煤气水封
图片尺寸722x1000
一种大压力煤气管道用水封装置的制作方法
图片尺寸802x1000
cn2861660y_煤气自动水封装置失效
图片尺寸800x1148
cn101109483a_用于煤气管道连续排水的水封方法及装置失效
图片尺寸1704x1128
供应煤气水封器
图片尺寸500x299
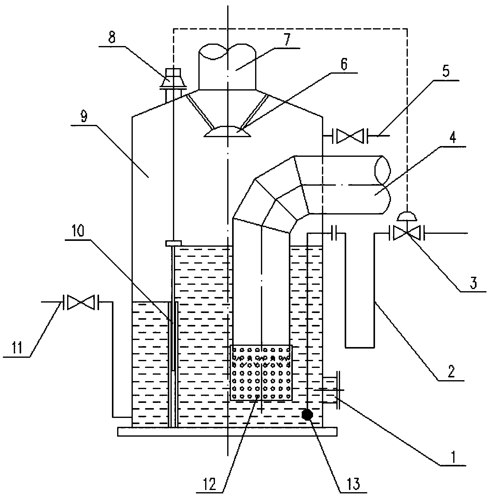
一种连续可调式水封煤气放散装置
图片尺寸1598x1623
一种用于煤气支管的水封装置的制作方法
图片尺寸940x1000
流体电加热器19
图片尺寸705x448
水封结构图
图片尺寸307x281
25t氧气顶吹转炉煤气的安全回收利用
图片尺寸200x232
一种用于含腐蚀性介质煤气柜进出口的u型水封结构
图片尺寸514x304