煤气罐结构

充好的煤气罐接口处有个盖子顶住然后阀门给我拧了一下有事吗
图片尺寸496x506
气瓶知识安全培训ppt
图片尺寸1080x810
日照液化石油气瓶智能充装智慧监管现场观摩会莅临开源
图片尺寸952x952
3.4lng钢瓶结构原理图
图片尺寸318x333
山东泰安液化气罐泄漏爆炸事故天津宝坻燃气爆燃事故必看燃气安全指南
图片尺寸1080x1239
储气罐结构
图片尺寸1325x2403
液化天然气储罐形式和选型
图片尺寸1017x1389
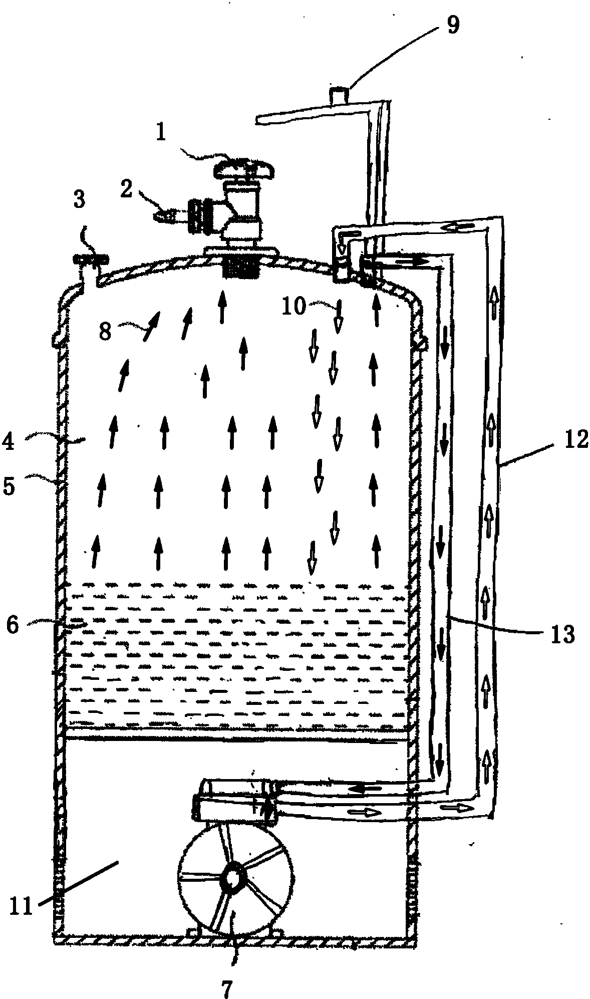
一种立式储气罐
图片尺寸1357x1678
申江储气罐申江碳钢法兰定做储气罐型号齐全
图片尺寸975x880
储气罐
图片尺寸343x617
lng储气罐侧面结构图
图片尺寸600x409
储气罐
图片尺寸1451x2063
液化石油气的技术要求和试验方法
图片尺寸600x762
储气罐这些安全隐患你了解多少呢
图片尺寸371x383
虎丘区储气罐|申江龙空压机储气罐|金牌经销商
图片尺寸404x476
储气罐装配结构图
图片尺寸682x491
cn207049613u_一种无压煤气罐有效
图片尺寸1178x1994
天然气储气罐低温 液化天然气储气罐 天然气储气罐厂家 山东中杰
图片尺寸1329x756
一种立式高压储气罐的制作方法
图片尺寸897x1000
储气罐-新乡市新大锅炉容器有限公司
图片尺寸785x753