熔体过滤器结构图

5/1.26f 熔体过滤器_常州市创博化工有限公司
图片尺寸1629x838
熔体过滤器
图片尺寸600x448
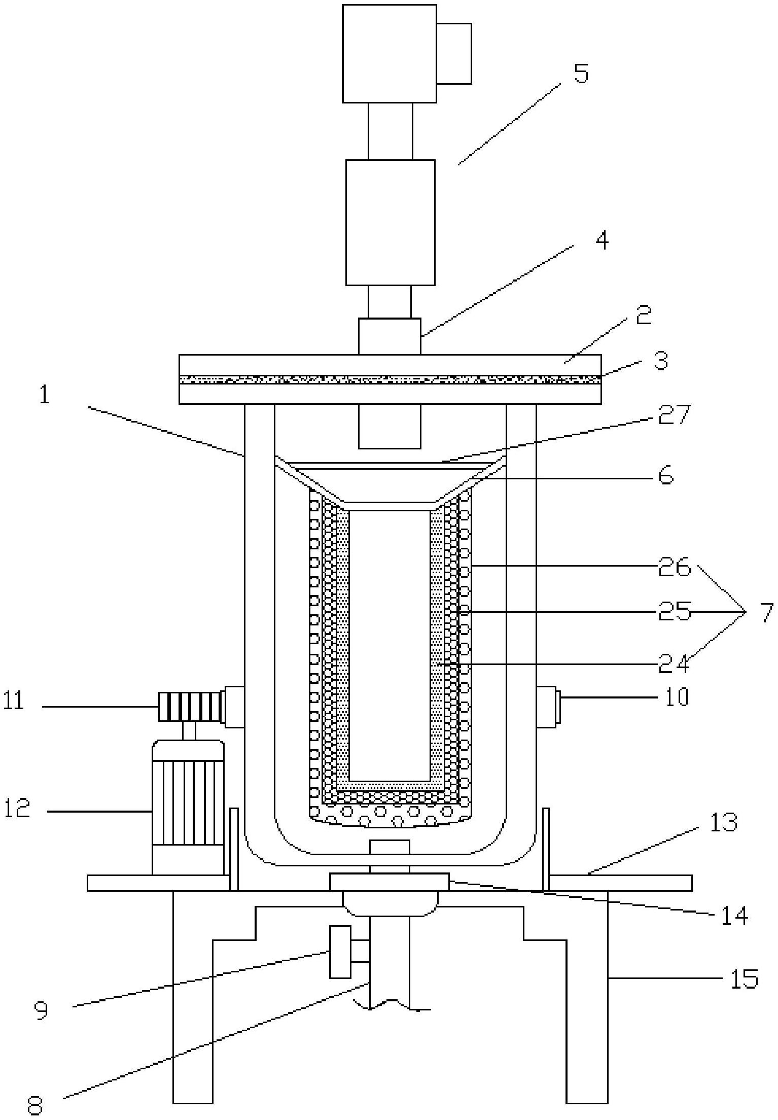
一种聚合物熔体过滤器
图片尺寸1332x1867
一种自粘薄膜的熔体过滤器的制作方法
图片尺寸395x444
高寿命熔体过滤器的制作方法
图片尺寸594x1000
一种非织造布纺织用熔体过滤器的制作方法
图片尺寸486x594
需滤除高分子熔融体中的杂质及凝胶粒子,所需设备即是熔体过滤器
图片尺寸630x1000
一种流动通畅的安全型熔体过滤器的制作方法
图片尺寸376x443
熔体过滤器
图片尺寸565x307
一种熔体过滤器的制作方法
图片尺寸897x1000
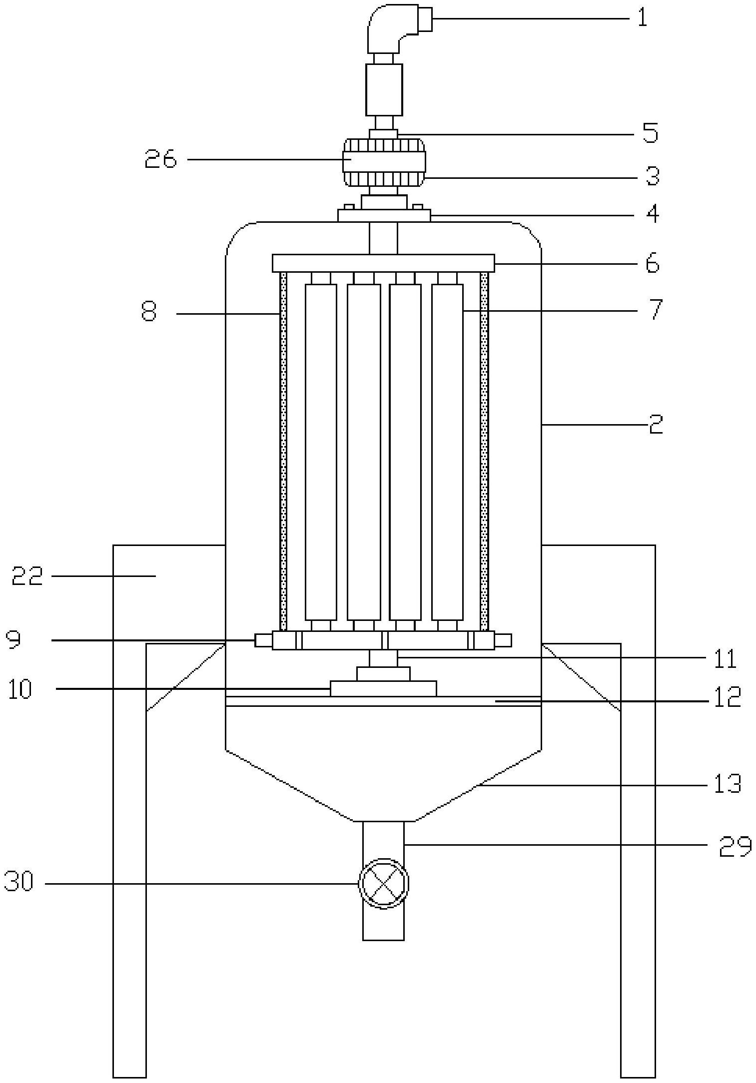
cn211585471u_一种过滤效果好的熔体过滤器滤芯
图片尺寸1534x2208
一种熔体过滤器的制作方法
图片尺寸340x443
一种聚酯光学膜熔体过滤器的制作方法
图片尺寸359x534
一种可防止堵塞的熔体过滤器滤芯
图片尺寸1513x2168
一种自粘薄膜的熔体过滤器的制作方法
图片尺寸542x443
一种无纺布生产制造用熔体过滤器的制作方法
图片尺寸1000x703
一种熔体过滤器的制作方法
图片尺寸595x1000
一种熔体过滤器制造技术
图片尺寸1000x905
熔体过滤器
图片尺寸915x832
一种便于更换滤芯的熔体过滤器的制作方法
图片尺寸1000x986