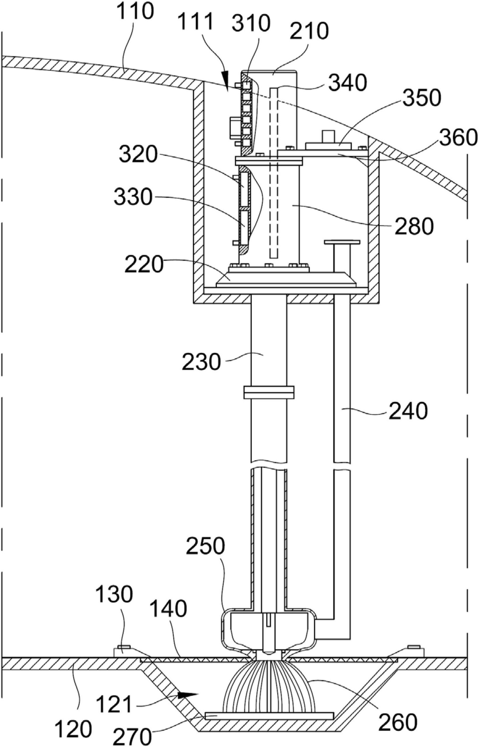
熔盐泵结构图

长期以来,因为材料及结构的限制,高温熔盐泵无法承受高温,泵运行一段
图片尺寸822x1000
ry熔盐液下泵结构图.jpg
图片尺寸545x655
gy熔盐液下泵结构图
图片尺寸570x684
fgl型立式高温熔盐蒸发轴流泵
图片尺寸560x623
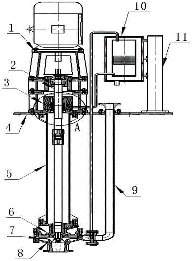
一种高温熔盐泵的上传动装置的制作方法
图片尺寸546x1000
三聚氰胺生产中熔盐泵的故障分析
图片尺寸1449x1996
一种蓄能式机械密封高温熔盐泵
图片尺寸735x1000
太阳能热发电高温长轴熔盐泵的制作方法
图片尺寸418x1000
eprotec熔体泵meltx适用于高mfi聚合物
图片尺寸500x502
一种熔盐泵的冷却装置的制作方法
图片尺寸643x1000
熔盐泵的冷却装置,驱动电机的壳体中设置有螺旋结构分布的螺旋冷却水
图片尺寸1647x2566
太阳能热发电高温长轴熔盐泵的制作方法
图片尺寸1000x786
本实用新型涉及熔盐泵的密封结构,具体为一种立式长轴熔盐泵的螺旋
图片尺寸295x443
一种用于高温熔盐长轴液下泵的密封装置制造方法及图纸
图片尺寸561x1000
一种高温多级抽吸熔盐泵的制作方法
图片尺寸591x1000
一种高温熔盐泵的滑动轴承,轴和叶轮材料性能测试装置制造方法及图纸
图片尺寸690x706
各种水泵结构图资料.doc
图片尺寸792x1120
一种熔盐泵的安装结构制造技术
图片尺寸628x1000
熔体泵型号
图片尺寸403x335
一种用于高温熔盐泵上轴承冷却的热管式肋片风冷系统的制作方法
图片尺寸1000x781