燃气表结构图

细拆家用膜式燃气表,终于搞清楚了计量原理【参赛】(一)
图片尺寸509x480
膜式燃气表会收到磁铁影响吗?
图片尺寸375x381
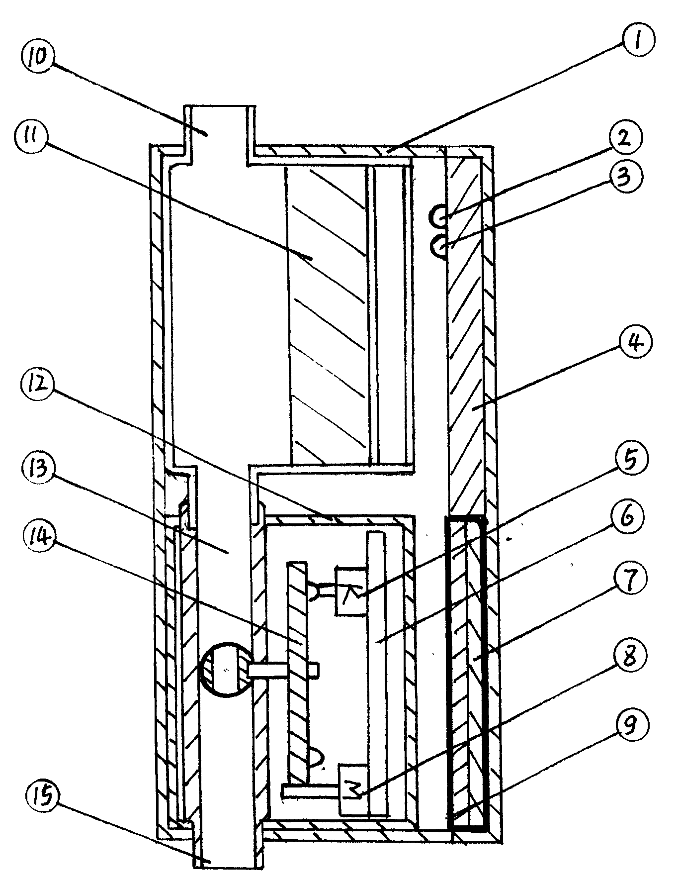
一种具有阶梯气价功能的ic卡膜式燃气表
图片尺寸1692x2066
一种具有阶梯气价功能的ic卡膜式燃气表的制作方法
图片尺寸820x1000
从超声波燃气表的发展窥探领先的中国技术
图片尺寸370x289
细拆家用膜式燃气表,终于搞清楚了计量原理【参赛】(一)
图片尺寸398x500
cn202928651u_一种新型燃气表有效
图片尺寸928x1000
一种出气口装有十字架的超声波燃气表的制作方法
图片尺寸511x602
燃气表结构原理是怎样的
图片尺寸293x286
cn208860419u_一种防拆卸燃气表有效
图片尺寸1000x975
cn201066295y_智能燃气表失效
图片尺寸1368x1779
一种超声波燃气表结构的制作方法
图片尺寸1000x901
表是利用德国先进技术和多年的煤气表生产经验自主开发的新一代燃气表
图片尺寸409x356
cg-l型ic卡膜式燃气表使用说明书-停水停电通知网
图片尺寸444x191
一种带开盖报警功能膜式燃气表
图片尺寸1808x2111
cn201335715y_一种膜式燃气表的防尘结构有效
图片尺寸800x751
一种防拆卸燃气表的制作方法
图片尺寸1000x975
结构简单,使用安全可靠,计量精确的机械温度补偿燃气表,上壳(16)和下
图片尺寸1912x2153
cn212206233u_一种可远程抄表的燃气表有效
图片尺寸1698x1603
一种ic卡膜式燃气表制造技术
图片尺寸760x1000