燃气轮机回热器

mar系列回热器
图片尺寸824x1100
向相关行业用户做了"双碳背景下的微小型燃气轮机技术和产业发展趋势"
图片尺寸1080x720
冷库回热器的作用:氟利昂制冷系统中回热器的主要作用有:1,改善制冷剂
图片尺寸932x568
一种适用于微型燃气轮机的原表面回热器
图片尺寸1816x2377
污泥烘干除湿余热回收回热器生产厂家
图片尺寸460x460
新奥动力自主研发的微型燃气轮机,除具有可靠性高,寿命长,污染排放低
图片尺寸870x550
燃气轮机回热器.ppt 49页
图片尺寸1152x864
燃气轮机余热锅炉的构成
图片尺寸900x726
浙江湖州 锅炉烟气空气余热回收器废气热回收换热器装置
图片尺寸860x483
回热型燃气轮机
图片尺寸1753x1119
斯特林发动机回热器_cn202030407805.4_cn306230998s_飞镖网
图片尺寸268x341
请问有人可以为我介绍一下什么是微型燃气轮机吗有没有什么品牌推荐
图片尺寸1024x690
采用西门子sgt-700型燃气轮机,同步建设配套的输变电工程及供热管网
图片尺寸641x461
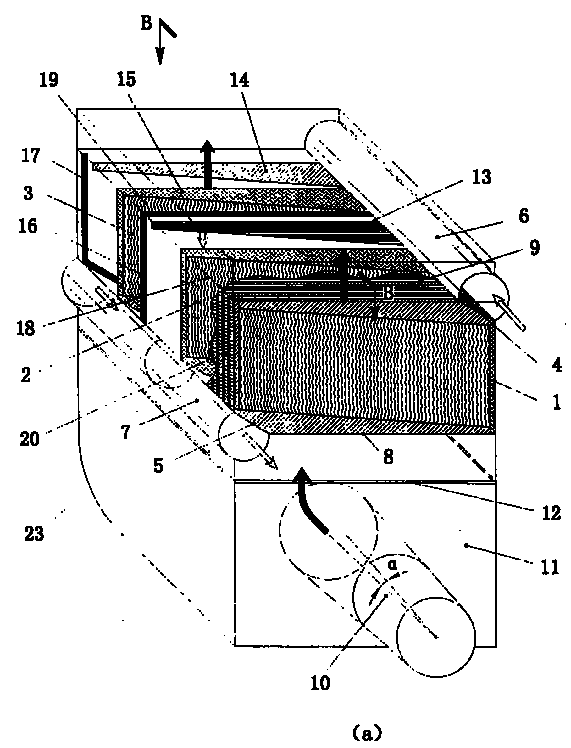
cn1936302a_一种微型燃气轮机用环形原表面回热器加工工艺有效
图片尺寸1161x1551
间冷回热燃气轮机
图片尺寸268x209
的回热式中小型燃气轮机提醒x您的浏览器版本过低或该浏览器不支持
图片尺寸989x492
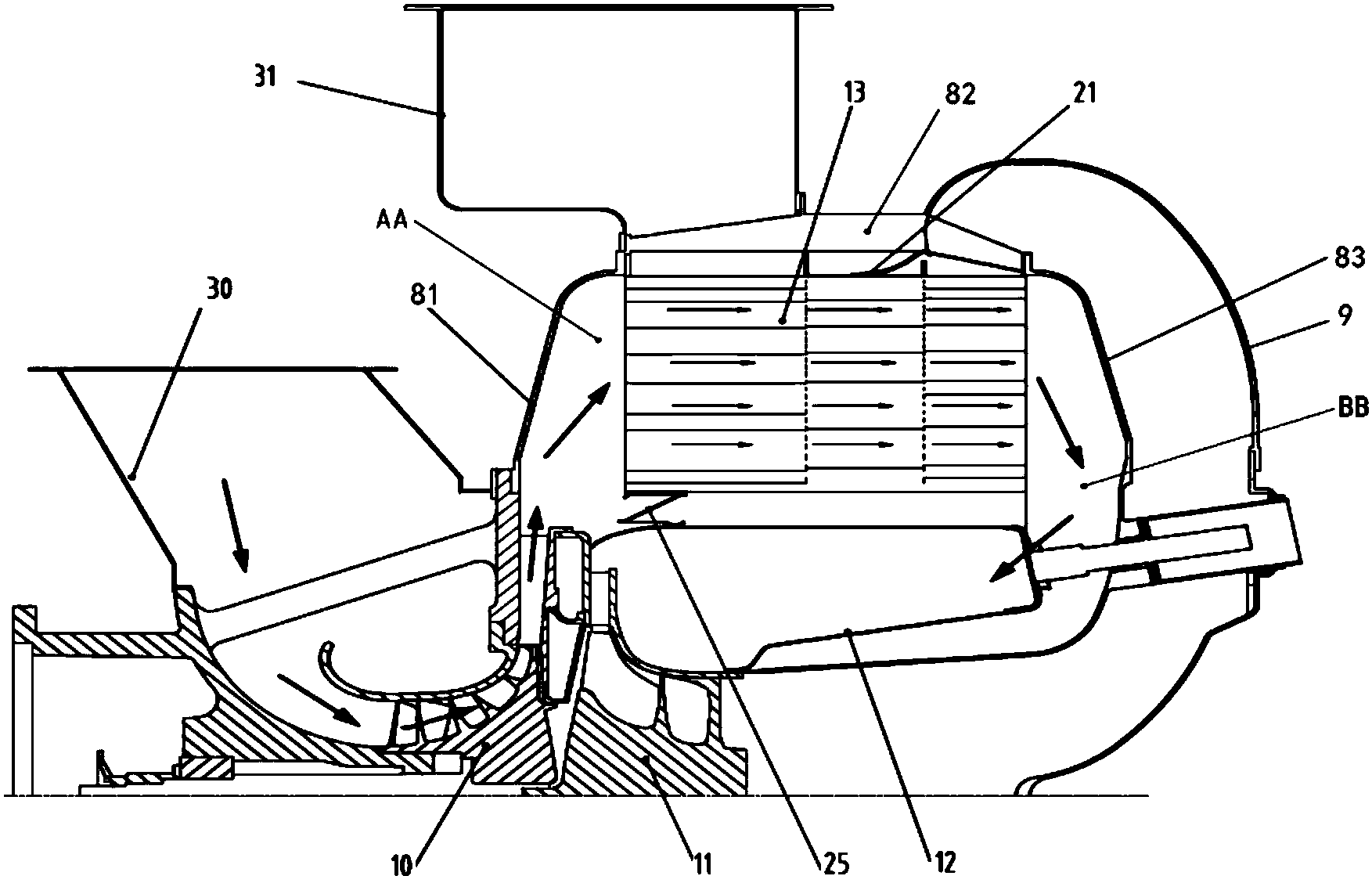
一种适用于燃气轮机的回热器结构的制作方法
图片尺寸413x491
微型燃气轮机发电机组的技术发展—进一步提高发电效率,可达42%;双轴
图片尺寸640x429
简单来说,我们可以将回热器看作一种带有孔隙的固体.
图片尺寸372x294
由微至小新奥动力燃机功率大突破e2000小型燃气轮机实现额定功率运行
图片尺寸892x669