燃烧室设计

航空发动机加力燃烧室设计/尚守堂等
图片尺寸1000x1000
燃烧室的定义燃烧室有几种类型
图片尺寸582x415
接下来说说燃烧室的设计
图片尺寸812x456
燃烧室设计图免费下载_sldprt格式_编号14550871-千图网
图片尺寸960x542
涡轴发动机燃烧室设计技术及发展趋势
图片尺寸1600x375
重型燃气轮机燃烧室设计与试验研究
图片尺寸1025x585
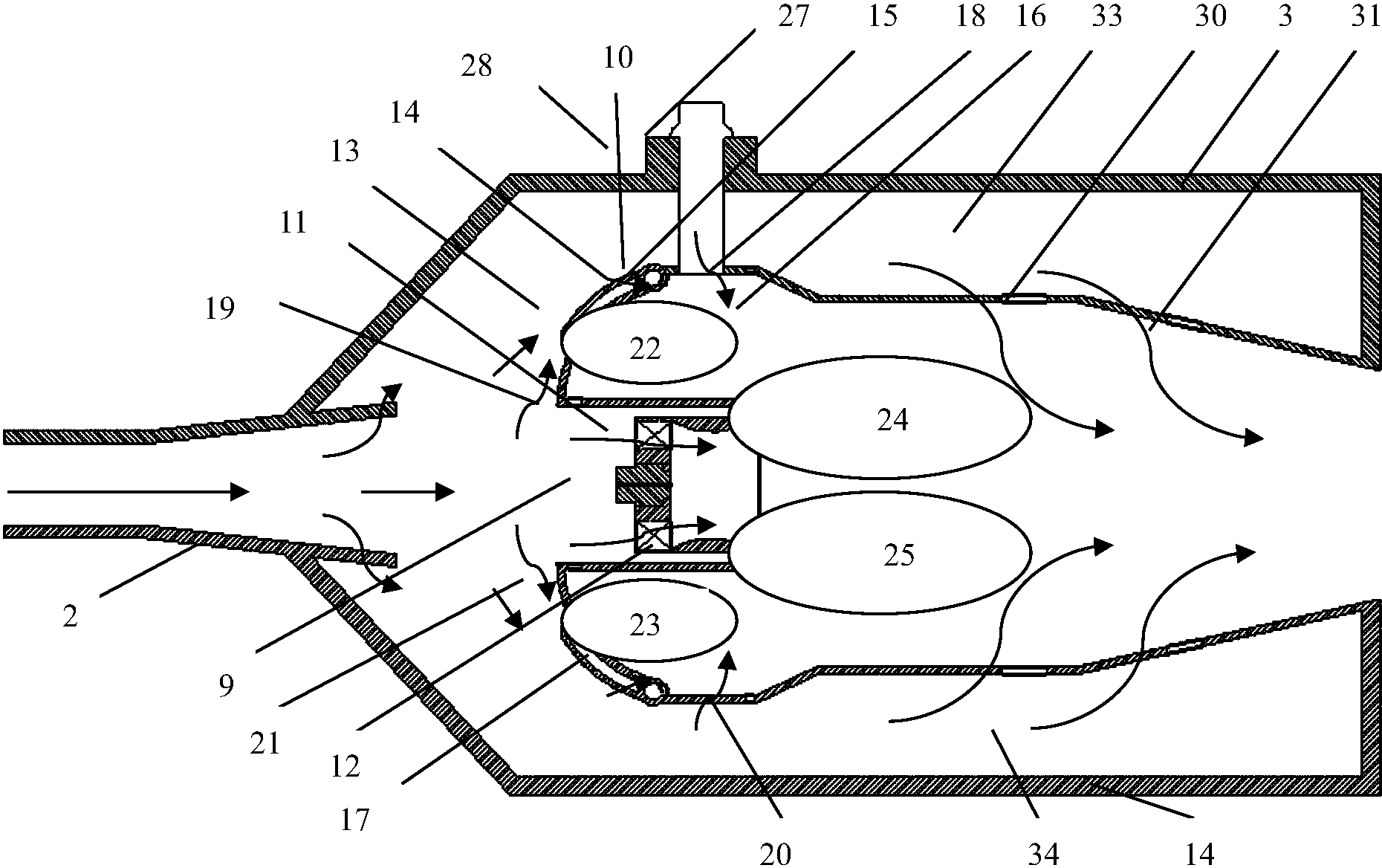
一种组合燃烧室
图片尺寸1860x1168
涡轴发动机燃烧室设计技术及发展趋势
图片尺寸1535x935
【技术求解】微型燃气轮机燃烧室设计-e科网
图片尺寸448x299
接下来说说燃烧室的设计
图片尺寸741x623
涡轴发动机燃烧室设计技术及发展趋势
图片尺寸623x700
组织方式作为一种具有工程应用前景的低污染和高温升燃烧室设计方案
图片尺寸550x336
cn201177270y_预热式燃烧室失效
图片尺寸1492x1497
浅谈rto燃烧室和蓄热室的设计要求
图片尺寸900x524
实验室配套装置的改造,高温高压光学可视燃烧室实验件的设计,加工
图片尺寸700x433
柴油机燃烧室构造
图片尺寸460x400
外观设计新能源驻车加热器燃烧室
图片尺寸940x755
涡轴发动机燃烧室设计技术及发展趋势
图片尺寸1445x937
cn211739169u_一种涡喷发动机燃烧室
图片尺寸1924x2021
航空发动机主燃烧室设计 李继保 科学出版社
图片尺寸800x800