爆破装药结构图

2 聚能水压爆破装药结构
图片尺寸450x426
深孔爆破炮孔装药示意图
图片尺寸640x438
光面爆破装药结构示意图
图片尺寸560x335
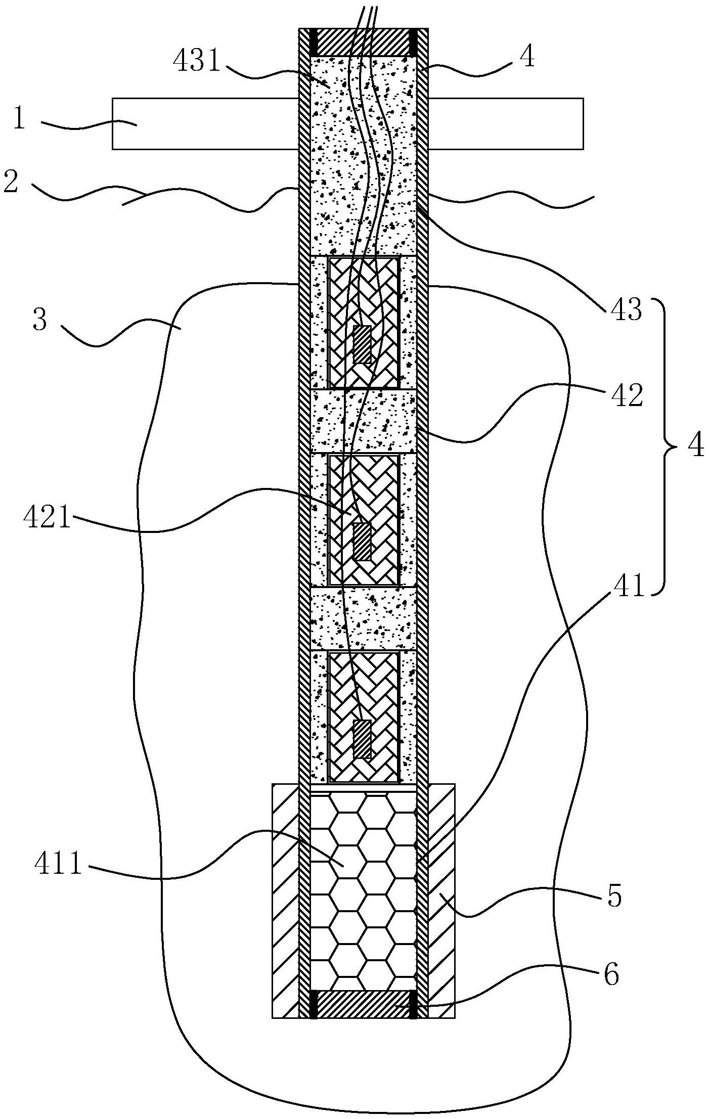
一种海底隧道基岩爆破装药结构
图片尺寸1402x2213
装药结构示意图
图片尺寸413x445
结构, 孔底段为偶合装药, 其余段为不偶合装药, 其爆破效果与全偶合装
图片尺寸245x373
一种工程爆破用水孔中爆破装药结构的制作方法
图片尺寸1702x2642
装药结构图
图片尺寸568x412
巷道掘进爆破施工过程中,卷装乳化炸药装药有时比较困难,爆破效果较差
图片尺寸980x489
光面爆破装药结构示意图
图片尺寸754x400
爆破装药结构示意图
图片尺寸560x421
爆破炮孔装药结构示意图
图片尺寸560x304
装药结构图
图片尺寸560x420
爆破装药结构:采用连续装药结构,炸药品种:有水炮孔采用Φ70㎜卷装
图片尺寸428x551
装药结构图
图片尺寸945x433
一种露天爆破装药装置及计算方法与流程
图片尺寸446x495
预裂孔与缓冲孔装药结构示意图
图片尺寸361x338
光面爆破装药结构图
图片尺寸560x420
装药结构示意图
图片尺寸560x420
新疆维吾尔自治区工程爆破协会
图片尺寸260x267