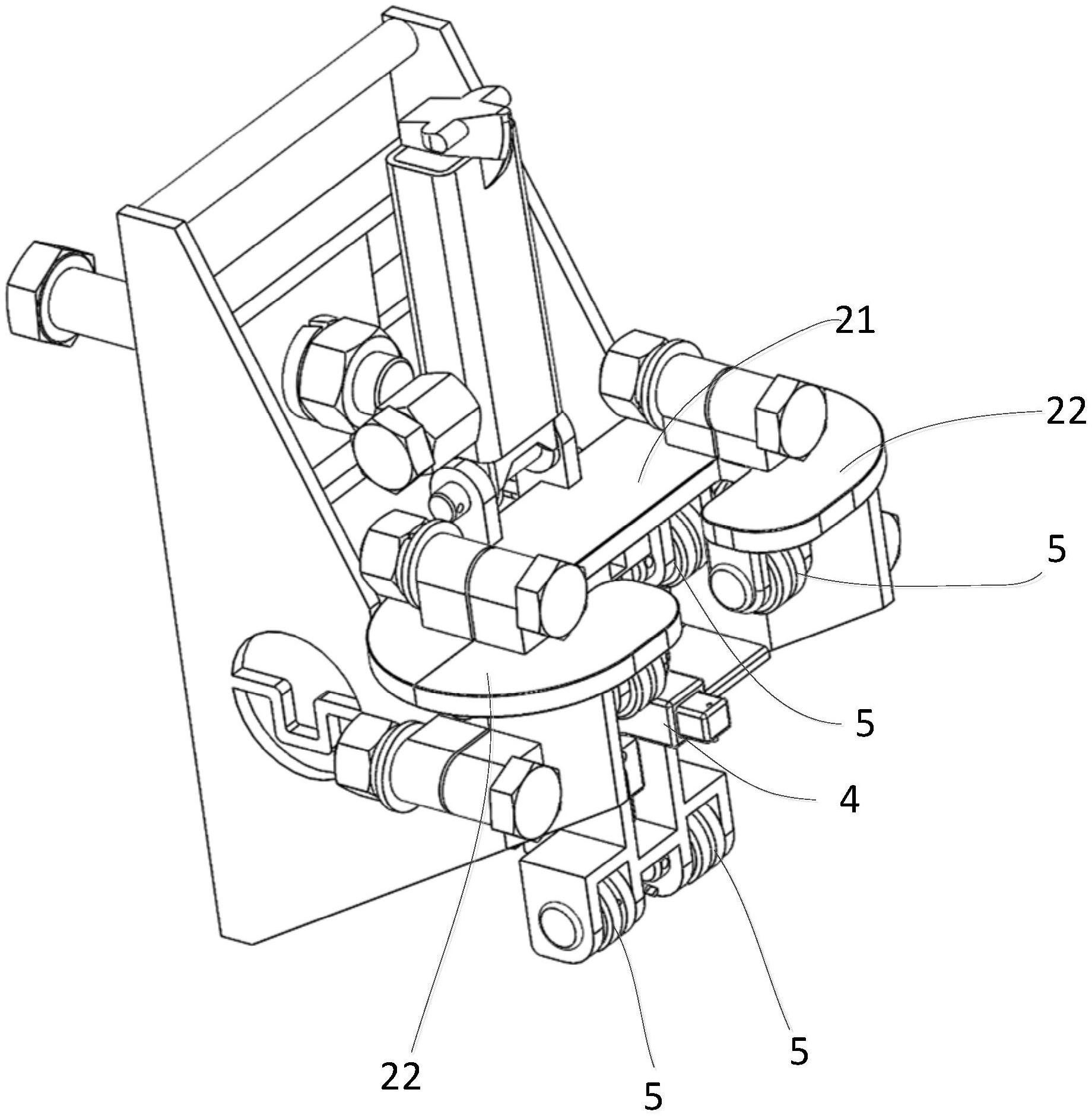
爬架导座

一种防上翻导座的爬架
图片尺寸1840x1884
带您走进爬架,认识爬架,弄懂爬架
图片尺寸750x750
搞不懂"爬架"是什么?本文让你一次看个明白!
图片尺寸600x371
导座式全钢爬架
图片尺寸450x600
爬架导轨支座
图片尺寸500x375
导座式全钢爬架
图片尺寸1080x1440
全钢爬架专用附墙导座附墙导向座
图片尺寸600x600
高层建筑全钢爬架附墙导座
图片尺寸460x460
高层建筑全钢爬架附墙导座
图片尺寸750x750
全钢智能爬架附墙导座生产代加工
图片尺寸600x600
爬架设计,安装及拆除工艺全面介绍,都在这了!
图片尺寸517x493
全钢智能爬架附墙导座防坠防倾导座河北方信厂家代加工
图片尺寸750x750
一种防扭防低头导座的爬架-爱企查
图片尺寸482x800
一种方便周转使用的爬架导座结构的制作方法
图片尺寸1497x1818
全钢智能爬架附墙导座防坠防倾导座河北方信厂家代加工
图片尺寸750x750
爬架施工常见的9项安全隐患,就按这个查!
图片尺寸640x814
全钢智能爬架附墙导座支座支架圆钢导轨三角撑之字撑
图片尺寸750x750
建筑工程全钢爬架附墙导座
图片尺寸600x600
爬架简介
图片尺寸1244x833
厂家直销智能全钢爬架附墙支座防坠导向支座
图片尺寸750x750