牙签盒弹簧结构安装图

自动牙签盒的工作原理是什么
图片尺寸765x534
定制创意家用客厅按压式二合一棉签牙签筒牙签盒简约棉签收纳盒牙签桶
图片尺寸750x894
自动牙签盒的工作原理是什么
图片尺寸758x532
创意牙签盒按压式自动弹出牙签筒便携式牙签桶北欧可爱餐厅牙签罐 【1
图片尺寸800x1225
牙签盒自动纸巾盒一体2024客厅弹簧家用茶几饭厅创意简约轻奢奶油
图片尺寸800x800
轴的端部安装螺旋弹簧的定位部件的螺旋弹簧固定结构以及双缸往复式泵
图片尺寸1000x510
【供应美/ 德 ace 不锈钢气弹簧/氮气弹簧gs-15-v4a 用于电子 造船】
图片尺寸525x800
图4为本实用新型的大理石与固定盒局部结构示意图.
图片尺寸670x536
牙签盒创意自动弹出家用北欧ins 按压式高档餐厅牙签桶便携牙签筒
图片尺寸790x1323
牙签盒按压式牙签筒创意自动弹出北欧餐厅个性家用牙签罐蓝2个装
图片尺寸750x1149
创意牙签盒按压式自动弹出牙签筒便携式牙签桶北欧可爱餐厅牙签罐 【1
图片尺寸800x988
伦硕新品牙签盒创意客厅牙签盒简约棉签收纳盒半自动按压式家用四格
图片尺寸790x1486
精密器械五金平面涡卷弹簧不锈钢发条复位涡卷弹簧来图定制
图片尺寸790x1054
墨申牙签盒按压式创意自动弹出北欧ins餐厅个性牙签筒家用高档牙签罐
图片尺寸800x1245
牙签盒创意牙签盒自动按压式自动弹出牙签高档餐厅牙签桶便携牙签筒
图片尺寸800x1333
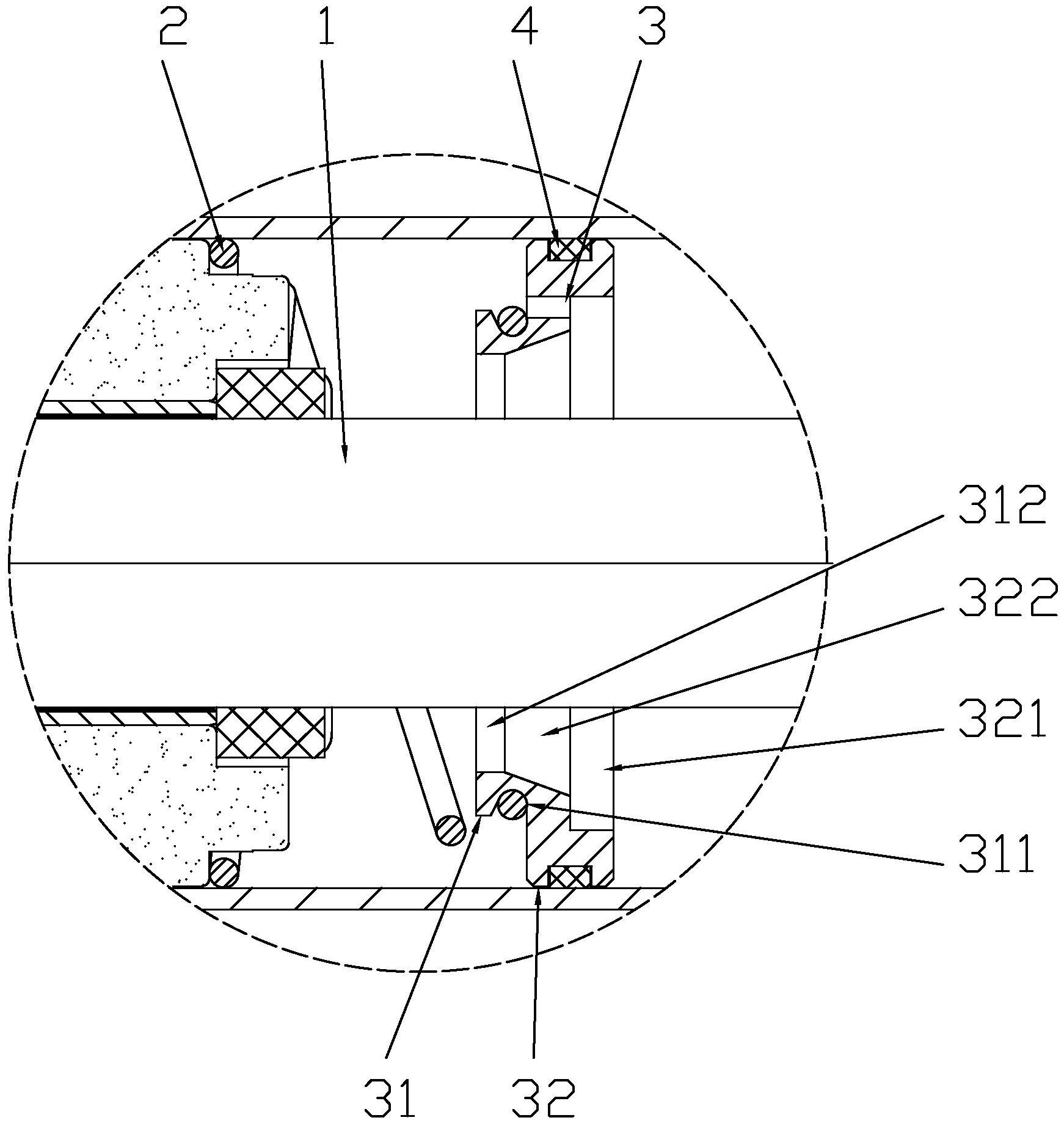
固定内缓冲弹簧结构
图片尺寸1742x1839
墨申牙签盒按压式创意自动弹出北欧ins餐厅个性牙签筒家用高档牙签罐
图片尺寸800x1207
创意按压式牙签盒家用餐厅自动弹跳牙签罐牙签瓶便携塑料牙签筒
图片尺寸750x805
"波形弹簧结构图"
图片尺寸204x478
怀旧老物件小企鹅自动牙签盒带包装原盒
图片尺寸533x800