牙齿模具简笔画

牙齿模型
图片尺寸650x651
假牙 牙齿 医用模型 矢量素材 eps_0050
图片尺寸517x530
牙齿模具-爱企查
图片尺寸1420x1356
儿童简笔画教孩子画牙齿牙具
图片尺寸1152x720
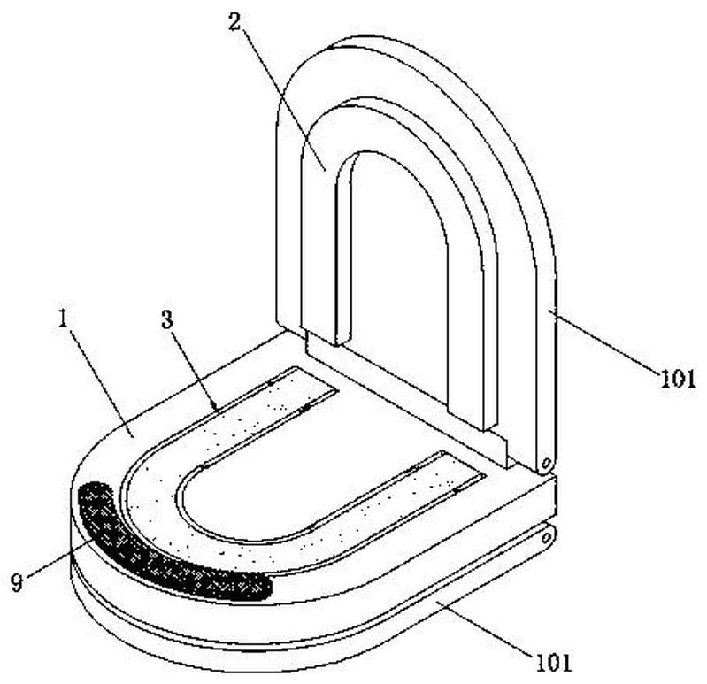
一种牙齿模具-爱企查
图片尺寸799x773
一种牙齿模具-爱企查
图片尺寸1262x1599
照片素材(图片): 牙膏牙齿模型的图像
图片尺寸340x340
cn203493757u_一种牙齿模型有效
图片尺寸1000x970
一种便于消毒的牙齿模具的制作方法
图片尺寸443x318
牙齿模具结构-爱企查
图片尺寸1186x1190
卡通牙齿简笔画教程
图片尺寸720x395
儿童彩色牙齿简笔画怎么画可爱牙齿简笔画绘画教程
图片尺寸500x382
用手摸牙齿的简笔画
图片尺寸500x500
牙具简笔画
图片尺寸1500x1000
牙齿简笔画可爱图片 牙齿简笔画可爱图片简单
图片尺寸268x244
幼儿取牙具的简笔画
图片尺寸750x500
可爱牙具简笔画图片
图片尺寸900x600
一种玩具牙齿,可拆装玩具牙齿的玩具头及玩具制造技术
图片尺寸1000x475
牙具图片_学习简笔画_少儿图库_儿童资源网
图片尺寸324x243
牙齿简笔画牙齿怎么画
图片尺寸700x479