牵引机构

快速扣设计,夹齿更换方便快捷● 多项机械自锁机构,杜绝二牵引头互相
图片尺寸1200x409
agv牵引机构
图片尺寸820x635
管道牵引机动力机构
图片尺寸465x723
cn303102442s_简易轨道交通牵引与制动模拟装置有效
图片尺寸944x592
奔野 - 25型拖拉机的牵引装置, 由牵引机构总成 l紧固在拖拉机传动箱
图片尺寸341x197
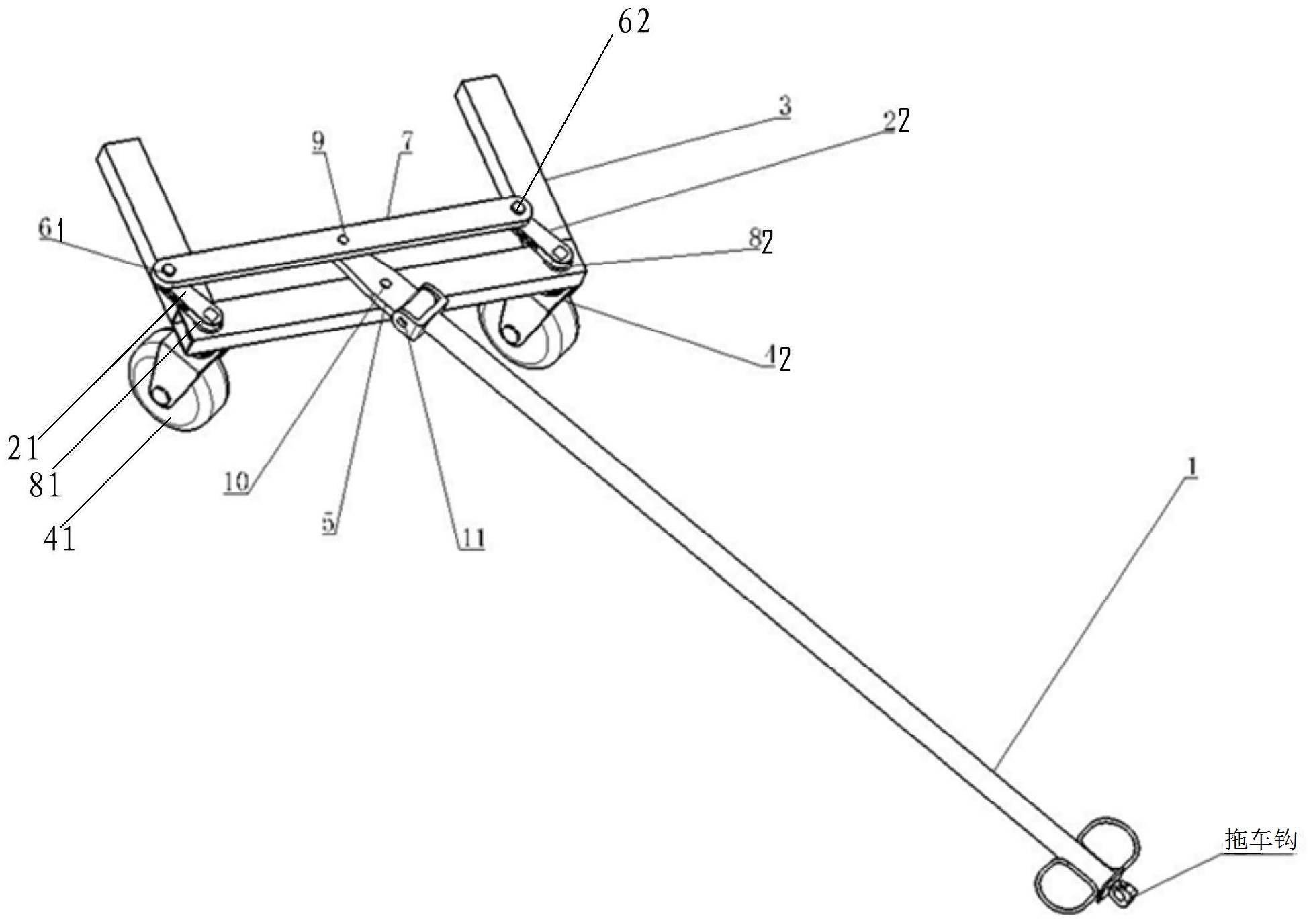
cn213501678u_一种牵引机构及具有该牵引机构的牵引式agv有效
图片尺寸1819x1229
某agv专用顶升牵引机构
图片尺寸1130x800
摆杆式 牵引装 置 特点:摆动 中心在驱动 轮轴线之前 ,拖拉机的 直线
图片尺寸1080x810
cn112644233a_一种挂弹车牵引机构
图片尺寸1949x1376
一种牵引式小车行走机构的制作方法
图片尺寸933x1000
新型铺缆船牵引机构设计应用
图片尺寸584x377
新型铺缆船牵引机构设计应用
图片尺寸626x504
后牵引式agv
图片尺寸300x225
一种牵引式小车行走机构-爱企查
图片尺寸1857x1988
半挂牵引车牵引座的结构与维护
图片尺寸2286x1501
带止动手动牵引机棘轮滚筒牵引绳减速机构止动臂手摇臂图纸描述这个带
图片尺寸792x744
机器人投放装置用带有限位结构的牵引机构的制作方法
图片尺寸444x423
带有辅助转向装置的跨座式单轨牵引机构及其转向架
图片尺寸1422x1107
电动旗舰款(电动机构 腰部上下牵引绑带 充气腰垫)
图片尺寸800x800
直径500mm管道牵引机
图片尺寸783x674