特斯拉阀 图纸

一种带有内壁清洗功能的特斯拉阀
图片尺寸1104x2331
一种清洁方便的特斯拉阀及清洁方法
图片尺寸1184x2269
一种可调速的特斯拉阀
图片尺寸1950x463
孙博华院士团队一种对称型特斯拉阀单向流特性的标度律
图片尺寸652x496
特斯拉阀在生活中的应用特斯拉阀结构图
图片尺寸640x1019
特斯拉阀:被遗弃的天才之阀
图片尺寸1080x720
一种基于特斯拉阀的液体单向阀
图片尺寸1021x2154
特斯拉阀在喷气发动机中的应用
图片尺寸1728x1080
一种基于特斯拉阀进气结构的地面旋转爆震发动机
图片尺寸443x400
孙博华院士团队一种对称型特斯拉阀单向流特性的标度律
图片尺寸1549x867
特斯拉阀
图片尺寸636x476
不可思议的特斯拉阀,无任何活动部件,它是如何工作的?
图片尺寸697x287
二维特斯拉阀
图片尺寸1044x692
一种基于特斯拉阀的风噪屏蔽装置的制作方法
图片尺寸443x230
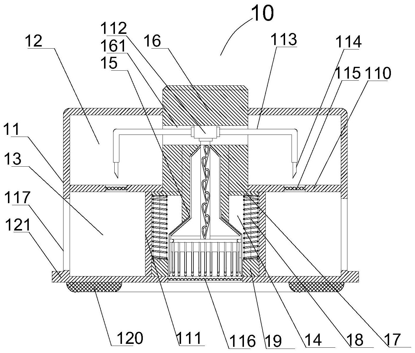
夹持式环形微针刀特斯拉阀高效无痛采血装置
图片尺寸1412x1199
孙博华院士团队一种对称型特斯拉阀单向流特性的标度律
图片尺寸627x350
特斯拉阀套v4
图片尺寸716x1018
进气管包括进气管管体,所述进气管管体的进气通道内设有特斯拉阀结构
图片尺寸800x300
特斯拉阀的新型非接触式流体密封技术,对于车内磁场的影响
图片尺寸640x652
管体前后两端的出气口,进气口,所述出气口与进气口之间连通有特斯拉阀
图片尺寸1662x651