犁头简笔画

犁头怎么画简笔画
图片尺寸670x287
简笔画马拉犁翻犁简笔画犁头怎么画简笔画幼儿简笔画马儿拉车古代马拉
图片尺寸398x360
耕地工具犁头简笔画
图片尺寸1000x481
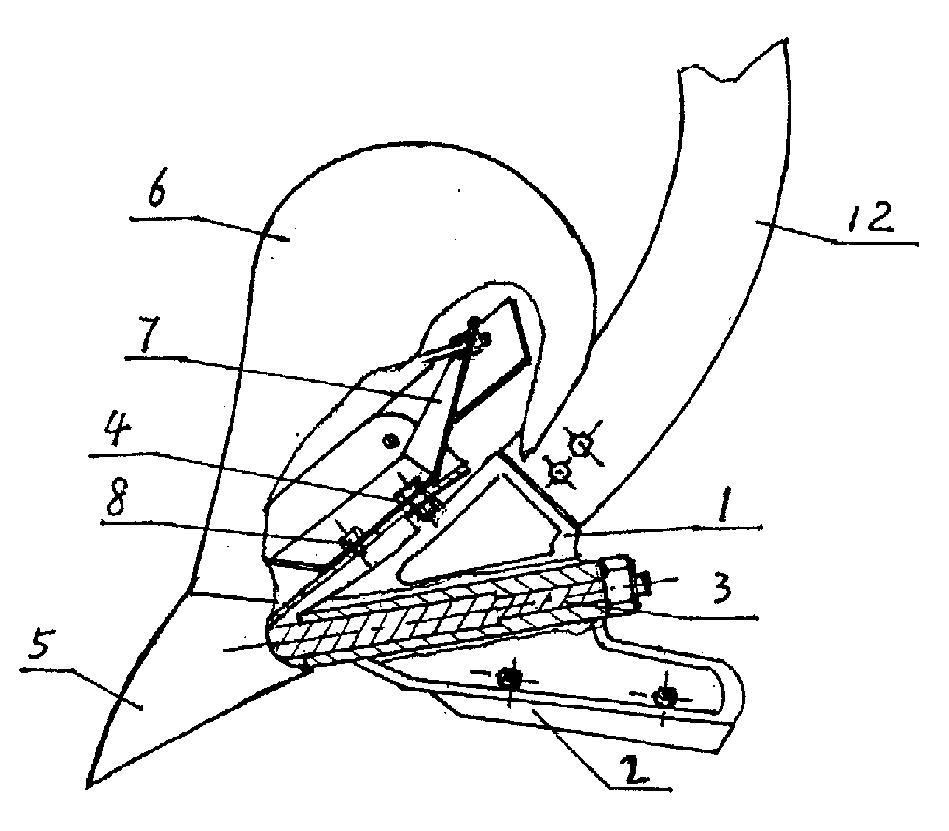
一种多功能耐用犁头及其作业方法-爱企查
图片尺寸288x394
耕作画图片
图片尺寸798x350
word转图片工具图片-word转图片工具素材-word转图片工具插画-摄图新
图片尺寸428x300
全部图片
图片尺寸670x670
庄稼卡通图片-庄稼卡通素材-庄稼卡通插画-摄图新视界
图片尺寸300x300
一种松土犁
图片尺寸766x376
犁头-爱企查
图片尺寸515x463
x可调手扶拖拉机犁头-爱企查
图片尺寸1400x1336
水,旱田两用犁头-爱企查
图片尺寸949x831
一种用于农业机械的鹰嘴形犁头的制作方法
图片尺寸443x404
农机用可更换犁头组件的犁头-爱企查
图片尺寸770x800
耕地的犁的简笔画
图片尺寸503x270
一种具备撒料覆土功能的犁头制造技术
图片尺寸1000x994
一种犁
图片尺寸1908x1403
锄_全景网
图片尺寸670x670
一种多方向可调式人力犁
图片尺寸1850x1847
本实用新型涉及农业机械技术领域,特别是一种葡萄种植用耕地犁头.
图片尺寸1000x954