犁煤器结构图

左侧犁煤器全套生产图纸
图片尺寸669x479
犁煤器产品参数
图片尺寸600x648
一种输煤系统犁煤器-爱企查
图片尺寸1872x1120
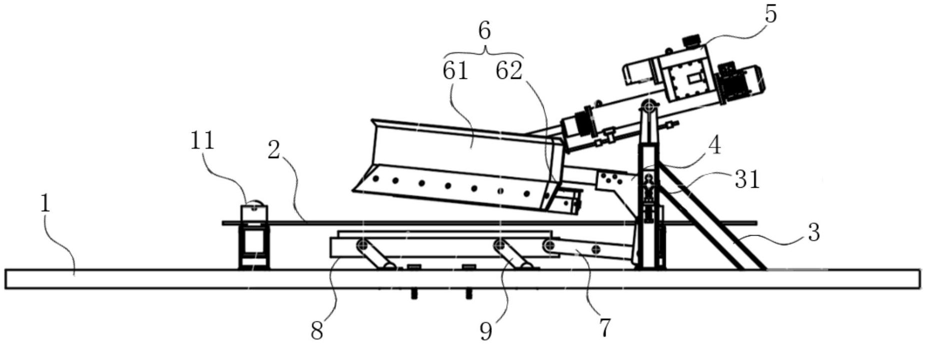
典型的犁煤器因经济型而简化,简化后的结构存在各类缺陷.
图片尺寸820x505
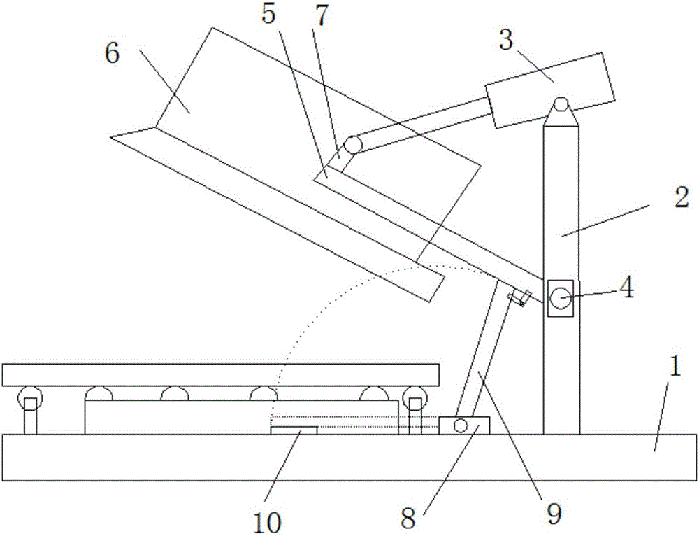
犁煤器总图
图片尺寸783x559
弘创直销最好最优质dyn型犁煤器 丨犁式卸料器
图片尺寸1075x1520
皮带机犁式卸料器天策电液动单侧犁式卸料器_***犁煤器市场价格
图片尺寸400x400
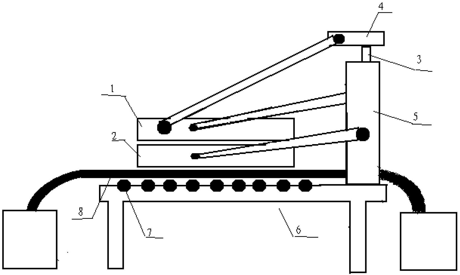
cn213504724u_自压式防抖防漏双侧犁煤器有效
图片尺寸1855x691
自压式防抖防漏双侧犁煤器的制作方法
图片尺寸1000x375
一种防撒料的犁煤器
图片尺寸1530x1214
cn212387259u_四连杆槽角可变双侧犁煤器有效
图片尺寸502x511
一种犁煤器接料结构的制作方法
图片尺寸443x368
弘创直销最好最优质dyn型犁煤器 丨犁式卸料器
图片尺寸1075x1520
1200双犁煤器设计图
图片尺寸544x409
一种新型电动犁煤器
图片尺寸1000x766
一种犁煤器的制作方法
图片尺寸1000x498
带有可活动落煤斗罩的双侧犁煤器的制作方法
图片尺寸550x288
犁煤器三维结构视图
图片尺寸269x220
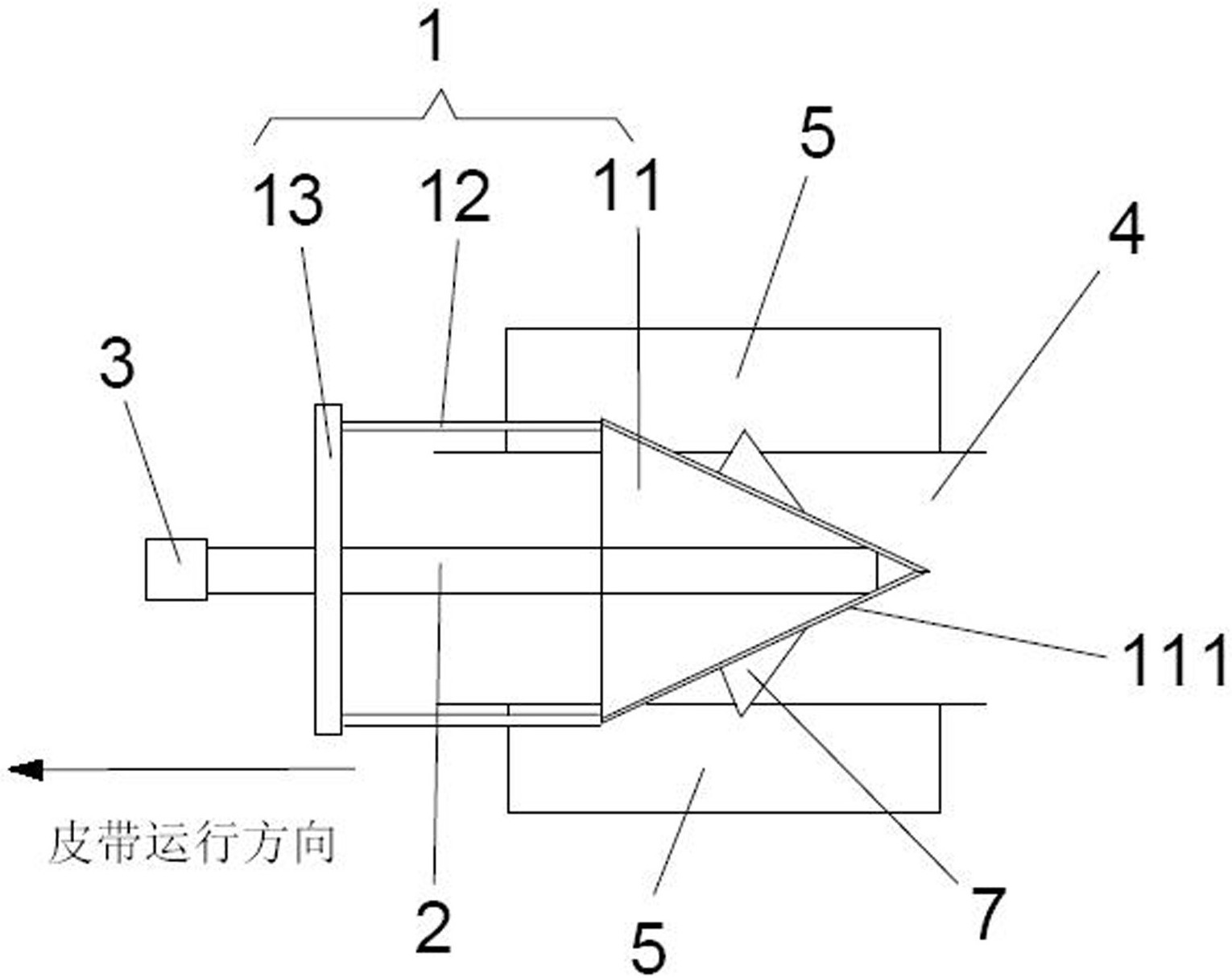
一种防止煤料溢撒的犁煤器犁头的制作方法
图片尺寸1000x856
犁煤器图纸
图片尺寸820x575