猫抓板简笔画

猫抓板-爱企查
图片尺寸458x395
抓逃犯猫抓板素材
图片尺寸300x300
设计了一个猫抓板
图片尺寸1080x1035
把猫咪抱到猫抓板前,举起它的小脚脚放在猫抓板上,按压肉垫,让它伸出
图片尺寸1080x647
猫抓简笔画猫抓儿童画图片
图片尺寸800x320
摄影在云上养一只猫forfurrytail猫抓板
图片尺寸1280x1920
一种猫抓板-爱企查
图片尺寸800x608
摄影在云上养一只猫forfurrytail猫抓板
图片尺寸1280x1920
猫抓简笔画猫抓儿童画图片
图片尺寸700x420
猫抓板(山间云朵)-爱企查
图片尺寸260x230
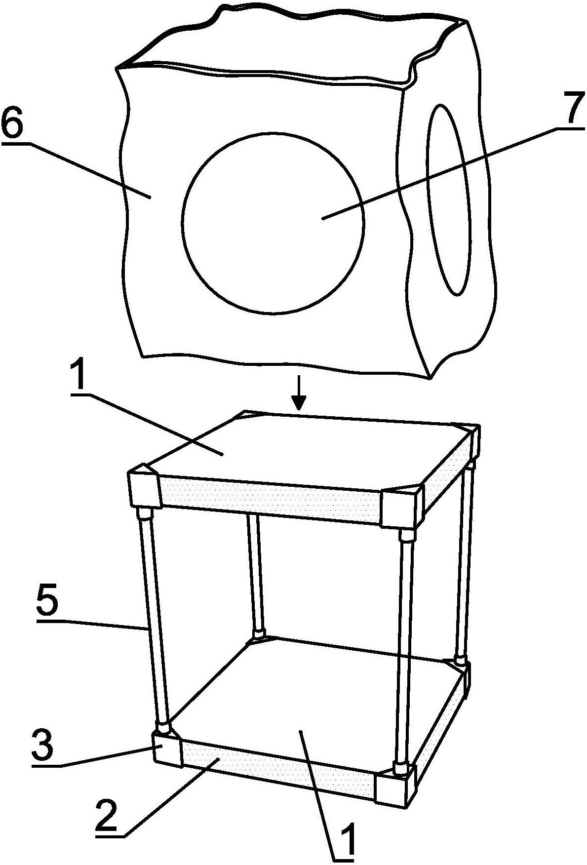
一种猫抓板
图片尺寸1532x1346
是玩具也是装饰画的猫抓板
图片尺寸1080x1439
算得上养猫标配的三件套了,封闭式猫砂盆,普通的猫抓板,双十一囤罐头
图片尺寸959x344
年糕猫抓板联名
图片尺寸1280x864
摄影在云上养一只猫forfurrytail猫抓板
图片尺寸1280x1920
本外观设计产品的名称:猫爬架(趣味62双窝).,2.
图片尺寸1317x934
猫抓板の画力贡献
图片尺寸706x851
一种猫抓板制造技术
图片尺寸1000x880
一种组装式猫抓板玩具-爱企查
图片尺寸1189x1752
是这样的,我家猫甚至把电脑机箱当猫抓板,但是却经常抽不出爪子.
图片尺寸1080x1308