玉米脱粒机结构

玉米脱粒机的结构设计【三维proe造型】【7张cad图纸 毕业论文】
图片尺寸800x1132
脱粒机 - 农机百科
图片尺寸470x388
一种谷物脱粒机的制作方法
图片尺寸447x623
自动玉米脱粒机-爱企查
图片尺寸1875x1681
一种玉米脱粒机
图片尺寸2301x1867
玉米脱粒机
图片尺寸2432x1952
cn201022280y_背负自走式全自动上料玉米脱粒机失效
图片尺寸2717x1472
cn201491528u_风机式玉米脱粒机有效
图片尺寸2568x1704
j016-玉米脱粒机的结构设计机械结构设计cad图纸
图片尺寸1048x756
玉米脱粒机的结构设计【含6张cad图纸】.zip
图片尺寸2338x1653
玉米籽粒脱粒分离装置-爱企查
图片尺寸1934x2055
cn201011782y_玉米脱粒机失效
图片尺寸1955x1477
一种现代农业用玉米脱粒机的制作方法
图片尺寸839x1000
低喂入玉米脱粒机-爱企查
图片尺寸751x937
玉米剥皮脱粒机的设计
图片尺寸519x424
一种玉米脱粒机-智农361-国际专利·农资器具展示交易平台
图片尺寸1948x1557
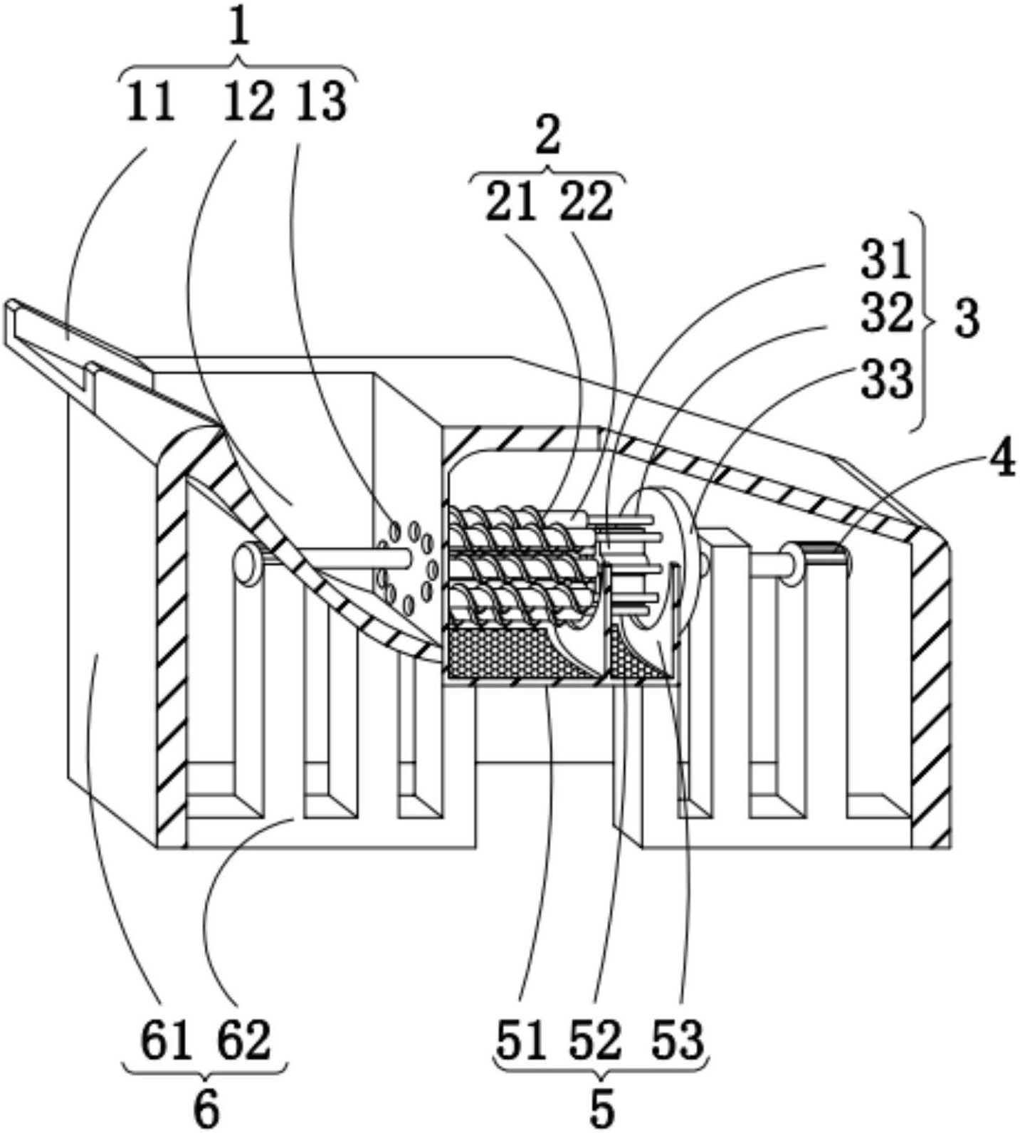
x新型的玉米脱粒机-爱企查
图片尺寸1433x1591
谷物脱粒机
图片尺寸709x537
自动玉米脱粒机的制作方法
图片尺寸1000x896
新型玉米种子脱粒机的原理和结构
图片尺寸310x203