玻璃刀结构图

目前所使用的玻璃刀结构简单,功能单一
图片尺寸514x384
一种玻璃切割刀头结构及工作方法技术
图片尺寸799x1000
玻璃刀
图片尺寸750x423
图解平板玻璃刀轮异形切割及机台的使用
图片尺寸556x240
背景技术:目前的lcd玻璃清洗装置用风刀结构形式各种各样,但各有其
图片尺寸946x1000
玻璃刀头滚轮式北斗日研玻璃推刀刀头推刀通用瓷砖刀头划厚薄玻璃
图片尺寸800x800
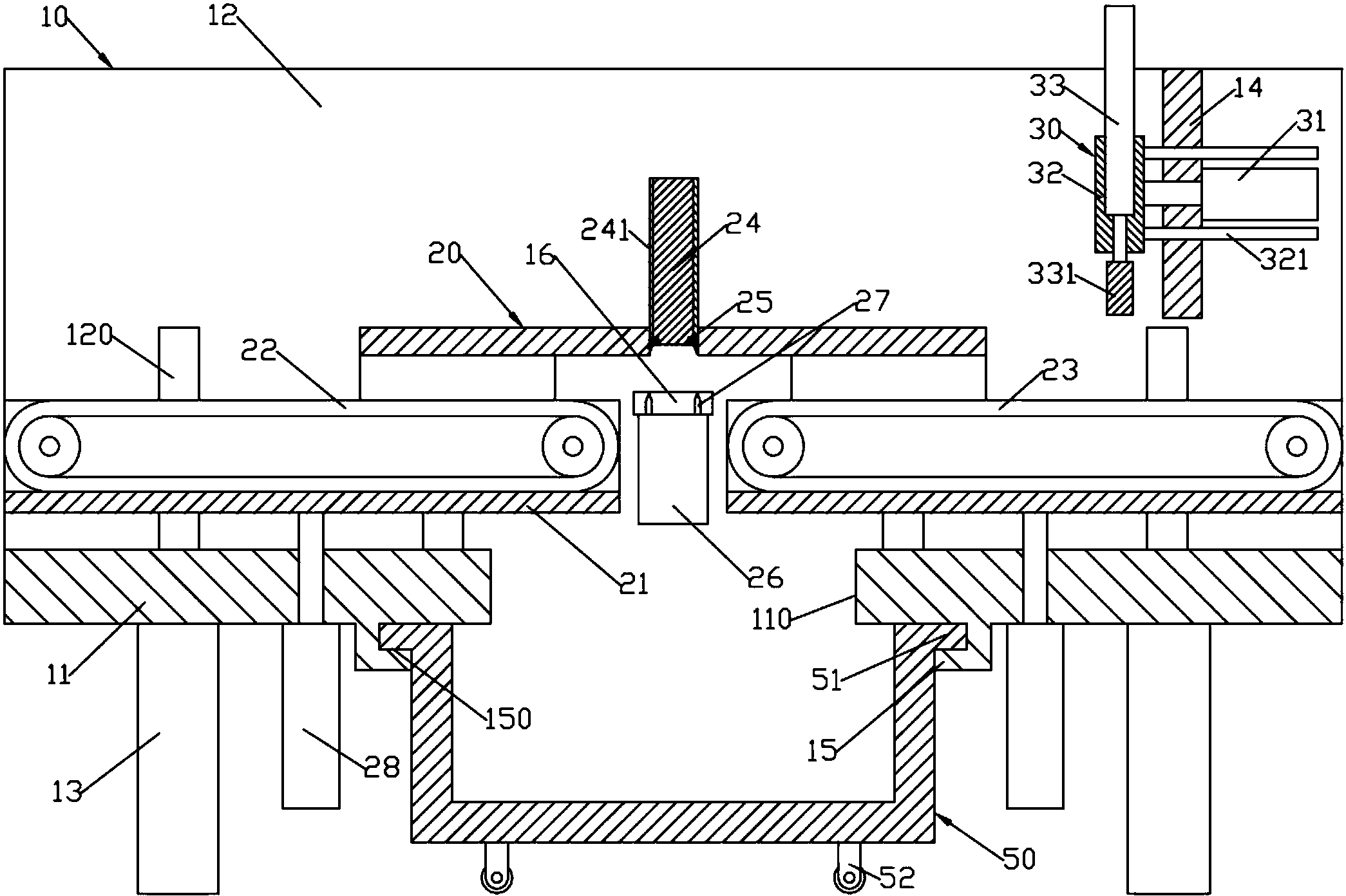
cn109399905a_一种具有双玻璃刀的玻璃裁切装置在审
图片尺寸2090x1392
360采用玻璃刀360度切割玻璃管机构
图片尺寸800x479
一种玻璃清洗设备用风刀结构的制作方法
图片尺寸262x391
刀片- 热门商品专区
图片尺寸636x377
【精选】玻璃刀进口金刚石玻璃刀划刀玻璃刀进口德国多功能瓷砖玻璃刀
图片尺寸800x800
沃尔德带齿玻璃刀 手切刀 可切玻璃及硅片 五一大促 满3把送1把
图片尺寸600x484
玻璃刀头玻璃推刀刀头金刚石刀头割切划厚玻璃滚轮式多功能推刀头
图片尺寸360x360
了解刀的基本构造,选择合适的刀具
图片尺寸526x573
摘要附图摘要本发明涉及一种美工刀,其结构包括:塑料刀柄,设置在塑料
图片尺寸1496x1104
一种生产高强韧高耐磨硬质合金玻璃刀钻具的冲压装置
图片尺寸1547x1647
一种高强韧高耐磨硬质合金玻璃刀钻具的钻头结构的制作方法
图片尺寸842x998
玻璃刀怎么使用
图片尺寸800x800
超大轮玻璃刀 多功能家用划瓷砖 万能手推式高精度滚轮 玻璃刀
图片尺寸800x800
玻璃刀家用金刚石划厚玻璃划刀专业开界器万用多功能瓷砖切割神器
图片尺寸790x719