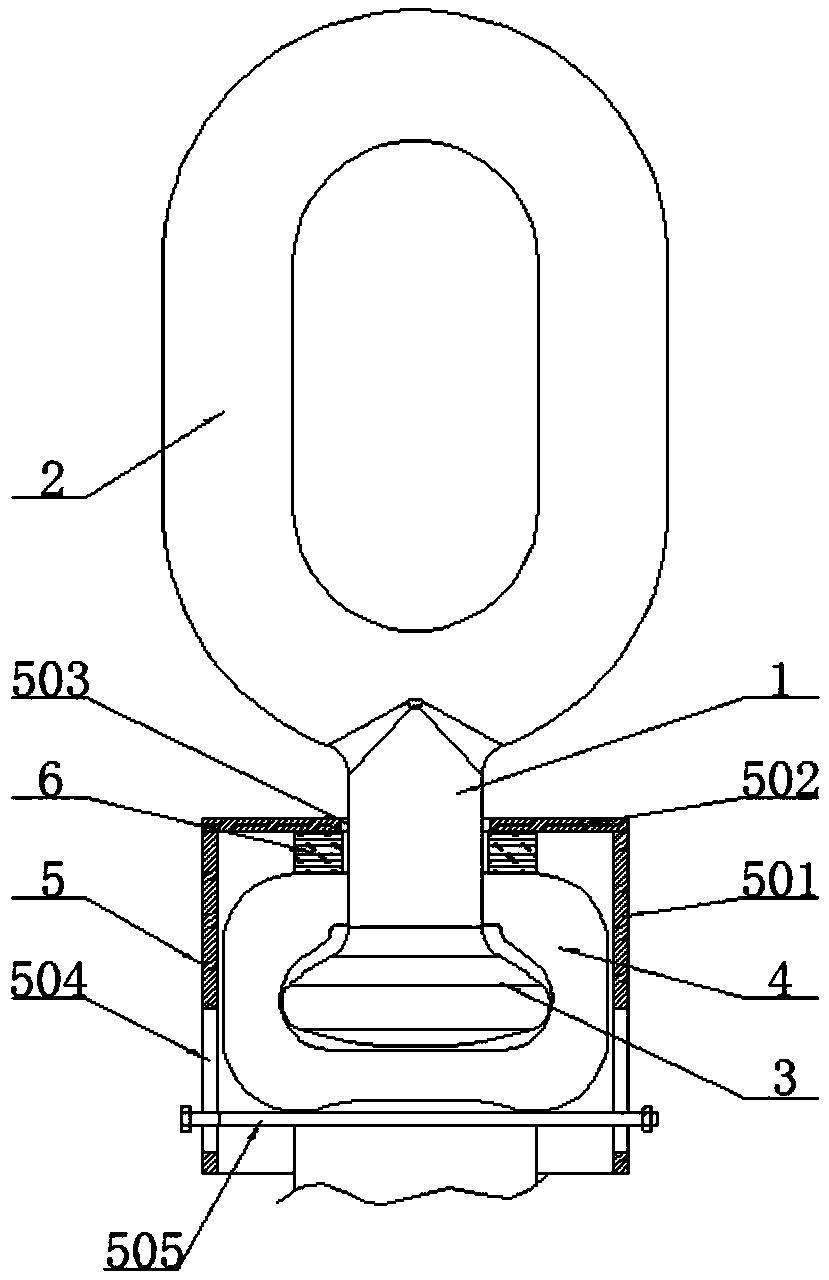
球头挂环连接图

摘要附图摘要本实用新型涉及一种挂环,包括球头挂环,直角挂板与绝缘子
图片尺寸1679x770
万泰电力连接金具q7球头挂环qp型悬式球头挂环线路铁附件规格齐全
图片尺寸750x750
定制适用球头挂环双联碗头直角挂板u型环延长环平行挂板悬式绝缘子铁
图片尺寸620x317
其技术方案要点是包括u型挂环,延长环,u型挂环,联板,z型挂扣,球头挂环
图片尺寸2230x1806
球头挂环热镀锌钢q-u,qs型球头挂板 q-10u 电力金具_任丘市顺安电器
图片尺寸712x727
坚弓球头挂环qp-7/10/12/0750/2180绝缘子连接金具悬式球型挂环 q-7
图片尺寸800x800
一种高强度球头挂环-爱企查
图片尺寸522x1025
一种球头挂环的制作方法
图片尺寸267x444
diy饰品配件 日本贵和kiwa医用钛金防过敏经典球头豆豆头挂环耳钉
图片尺寸800x800
电力金具直角挂环 金具u型环卡环 吊钩球头挂环环型连接器
图片尺寸750x750
球头挂环连接金具qp12电力球头挂环
图片尺寸750x750
日本partsclub 钛金防金属过敏3mm球头挂环耳钉耳针diy饰品配件
图片尺寸800x800
球头挂环
图片尺寸1920x1920
球头挂环连接金具qp7电力球头挂环
图片尺寸750x750
diy饰品配件 日本贵和kiwa铜镀金银简约小球头豆豆挂环耳钉耳针
图片尺寸800x800
亿德电力器材球头挂环 悬式球型挂环 绝缘子挂环q型挂 批发
图片尺寸750x560
输电线路长圆环球头挂环-爱企查
图片尺寸515x938
热镀锌球头挂环电力光缆用球头挂环qp7q7悬式球型挂环q71只价格
图片尺寸800x800
球头挂环连接金具q型qp型系列悬式球头挂环供应热镀锌球型挂环
图片尺寸800x800
一种自带保险功能的球头挂环-爱企查
图片尺寸829x1280