球头结构图

一种汽车转向系统的球头总成技术方案
图片尺寸1000x903
内外球头总装图
图片尺寸831x460
cn2115950u_可调式球头总成失效
图片尺寸1920x2003
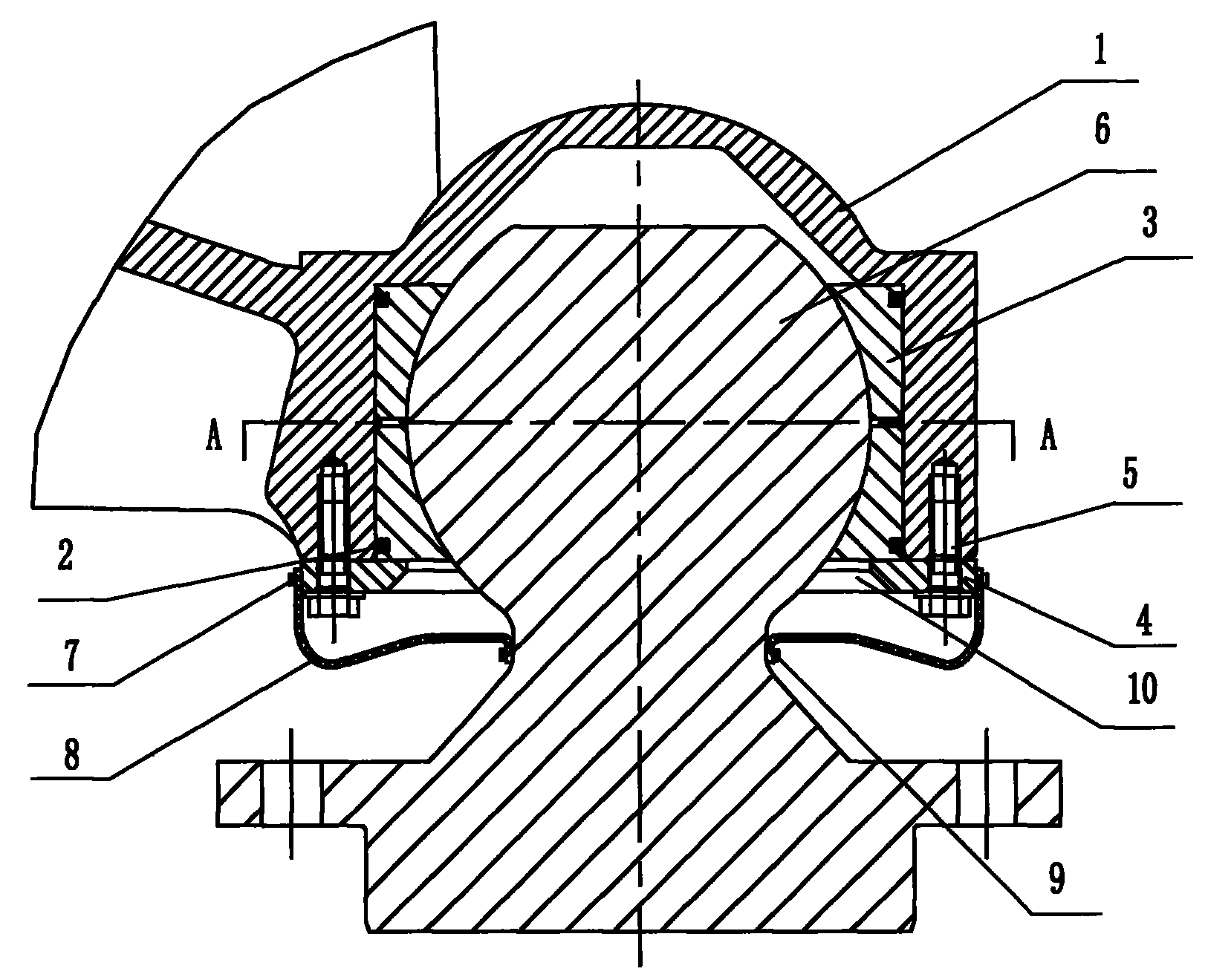
cn212959510u_一种球头总成
图片尺寸1489x2401
拉杆球头及其制造方法技术
图片尺寸1000x925
一种万向球头支撑结构
图片尺寸1465x1212
一种高耐磨悬挂球头的制作方法
图片尺寸1000x848
一种汽车拉杆球头的制作方法
图片尺寸1000x624
球头(2),两个球碗(3)和弹性件(5),其中:球壳(1)为一体成型结构,在球壳
图片尺寸1916x1396
欧曼球头 rbld rbldl 替代thk 杆端关节轴承 球头轴承 锌合金
图片尺寸847x540
内外球头总装图
图片尺寸820x580
cn201535313u_汽车悬挂球头总成失效
图片尺寸1626x1320
内容: 配套采购j127拉杆球头,我们长期要,每个月预计1200套,下面图纸
图片尺寸640x812
汽车悬挂球头
图片尺寸1602x799
t型螺杆和凹面螺母,三者均采用碳纤维材料,球头为空心球体结构,球头上
图片尺寸1254x1216
q7461999汽车用长球头接头
图片尺寸2245x1387
厂家直销两片式不锈钢球阀1000wog304316不锈钢球阀手动
图片尺寸602x599
一种汽车的球头组件的制作方法
图片尺寸995x1000
一种新型万向节塑胶球头的制作方法
图片尺寸592x460
球阀结构图
图片尺寸916x1001