球头结构

一种汽车转向系统的球头总成技术方案
图片尺寸1000x903
内外球头总装图
图片尺寸831x460
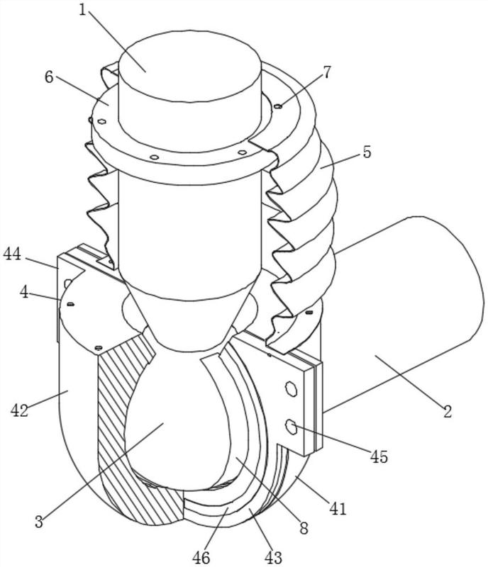
球头(2),两个球碗(3)和弹性件(5),其中:球壳(1)为一体成型结构,在球壳
图片尺寸1916x1396
cn2115950u_可调式球头总成失效
图片尺寸1920x2003
汽车悬挂球头
图片尺寸1602x799
拉杆球头及其制造方法技术
图片尺寸1000x925
一种方便润滑的拉杆球头的制作方法
图片尺寸443x421
cn201535313u_汽车悬挂球头总成失效
图片尺寸1626x1320
一种万向球头支撑结构
图片尺寸1465x1212
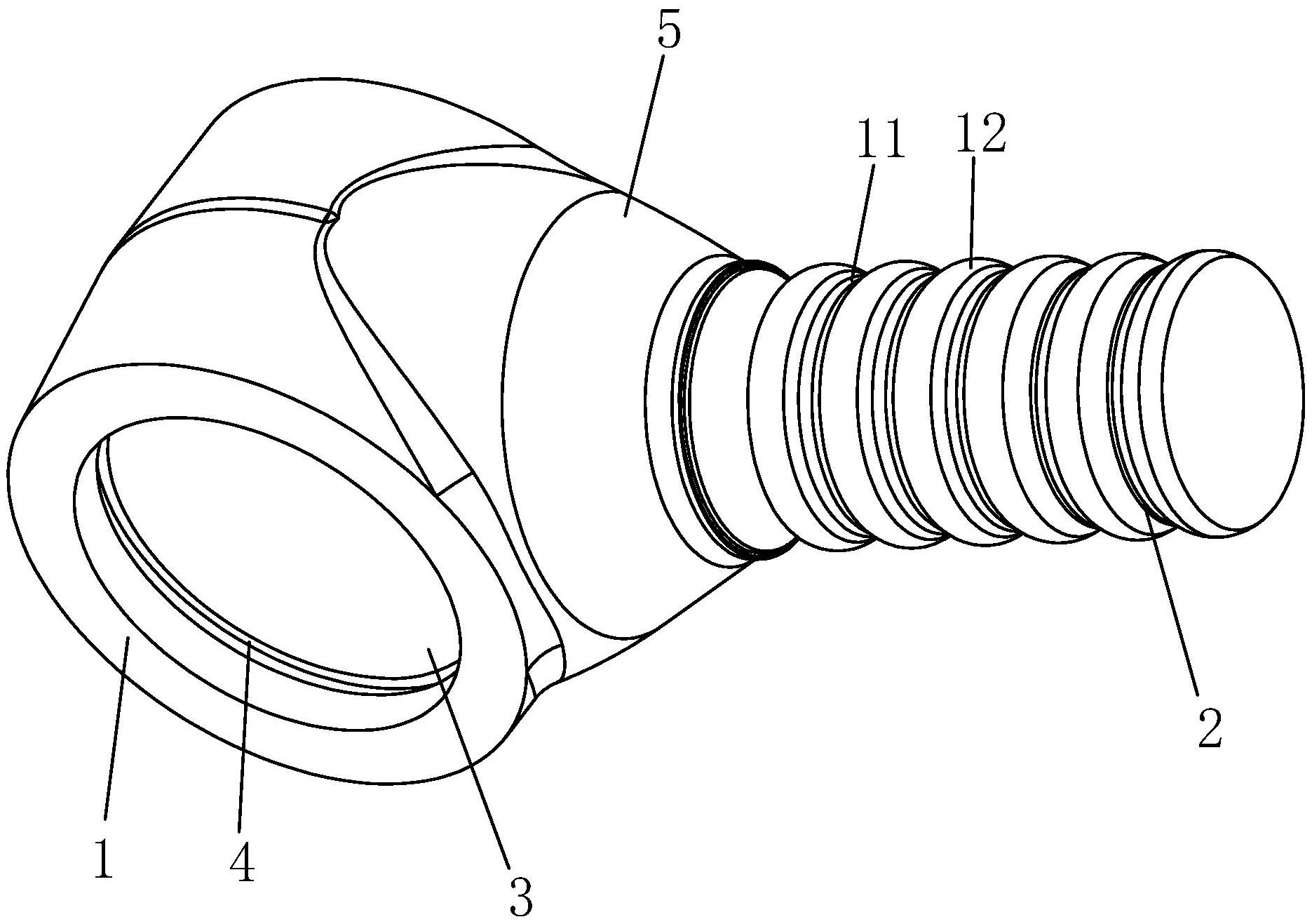
t型螺杆和凹面螺母,三者均采用碳纤维材料,球头为空心球体结构,球头上
图片尺寸1254x1216
内容: 配套采购j127拉杆球头,我们长期要,每个月预计1200套,下面图纸
图片尺寸640x812
一种轻量化推力杆球头结构-爱企查
图片尺寸1871x1317
万向球形接头
图片尺寸548x399
一种汽车转向拉杆球头连接结构-爱企查
图片尺寸260x260
一种转向节球头的防滑结构-爱企查
图片尺寸782x800
球头止规16# 球窝通规16b 球窝止规16b|水利工程检测设备,钢结构工程
图片尺寸2304x3037
一种易调节间隙补偿的汽车球头组件-爱企查
图片尺寸688x800
一种具有补偿结构的汽车球头总成的制作方法
图片尺寸373x444
球头止规16# 球窝通规16b 球窝止规16b|水利工程检测设备,钢结构工程
图片尺寸2304x3037
单向芯棒球头设计
图片尺寸780x350