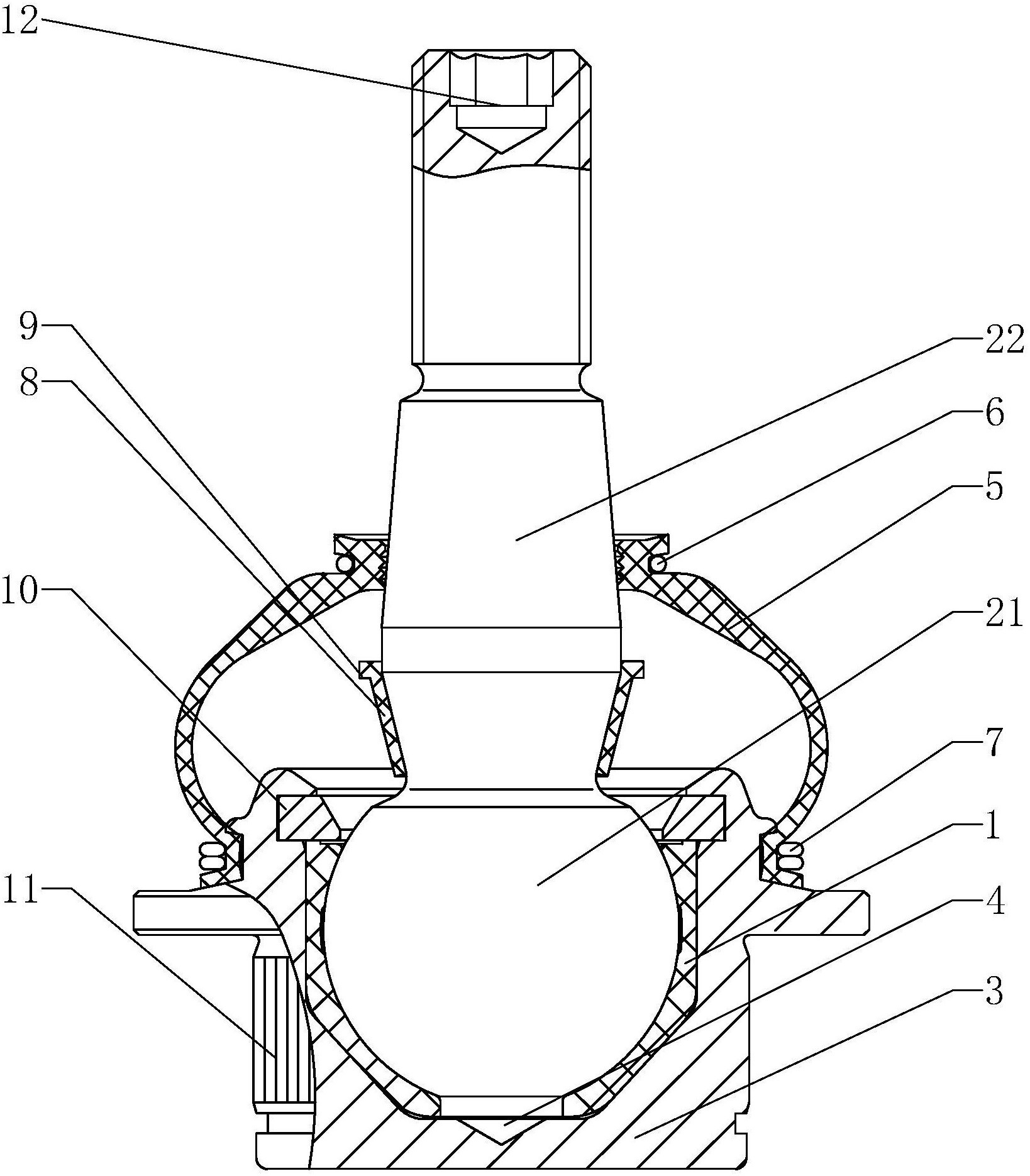
球头连接结构

球头(2),两个球碗(3)和弹性件(5),其中:球壳(1)为一体成型结构,在球壳
图片尺寸1916x1396
球头容易产生机械磨损,另外如果异物跑入球销和球座的连接处也会产生
图片尺寸1638x1871
一种汽车连杆的球头连接结构的制作方法
图片尺寸839x1000
万向球形接头
图片尺寸548x399
浙江亿帆 | 铜球阀的使用与维修
图片尺寸400x300
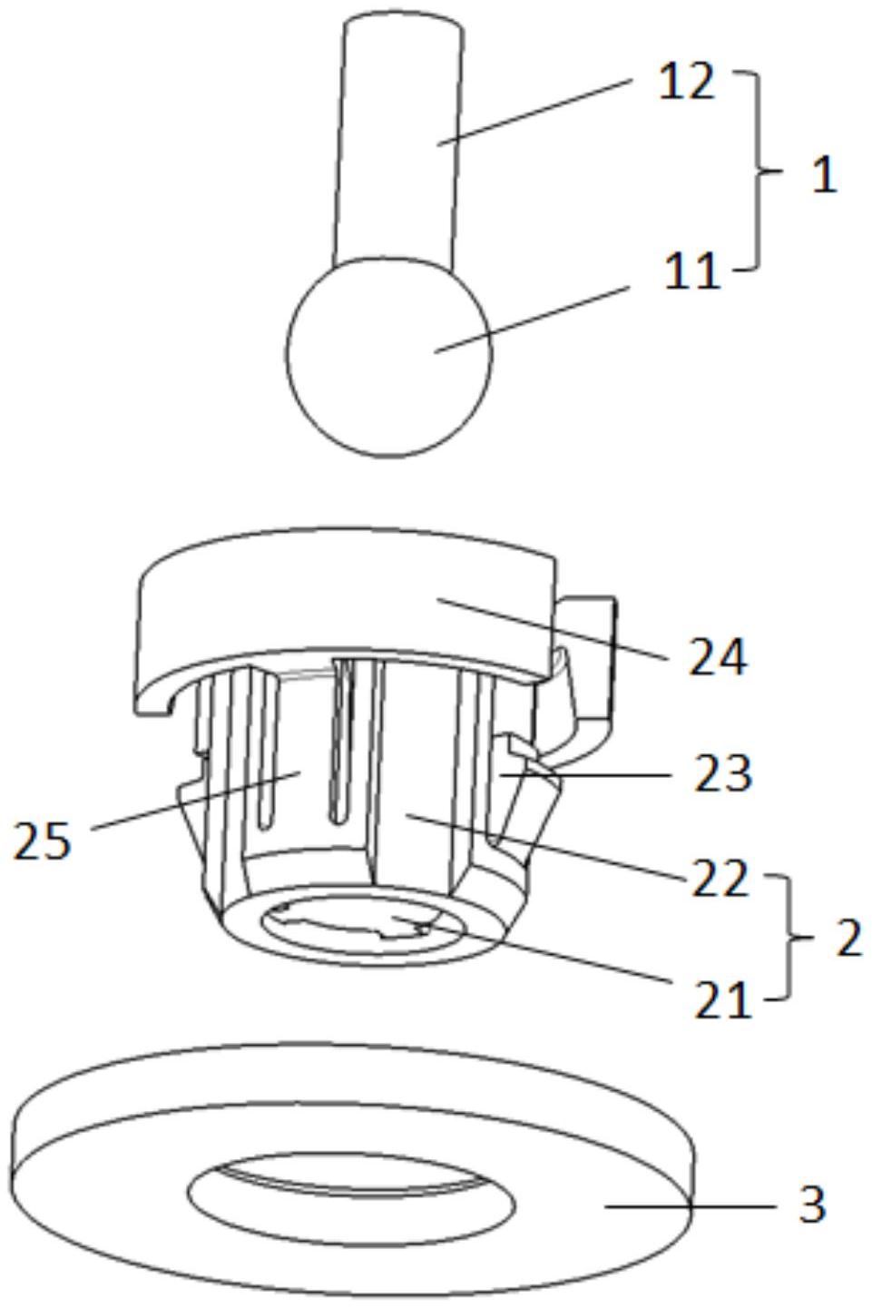
一种球头连接件组件车灯和车辆
图片尺寸1074x1449
一种球头连接件
图片尺寸777x1000
装置(悬架机构)或操纵装置(转向机构)上使用的球头接头已为众所周知
图片尺寸757x1000
其技术方案要点是包括u型挂环,延长环,u型挂环,联板,z型挂扣,球头挂环
图片尺寸2230x1806
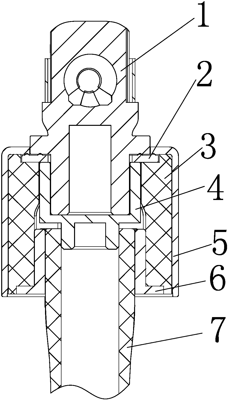
本实用新型提供了一种杆端球面接头结构,属于连接件的技术领域.
图片尺寸1541x2367
球阀安装有方向要求吗?
图片尺寸798x765
可调式球头总成
图片尺寸1920x2003
q7461999汽车用长球头接头
图片尺寸2245x1387
cn107806471a_一种电动推杆球头连接结构在审
图片尺寸942x1650
【工程机械】ball-joint球头球形接头3d数模图纸 stp
图片尺寸1080x764
cn213453514u_一种球头连接件组件,车灯和车辆有效
图片尺寸961x1441
一种具有自动润滑功能的五金万向球头连接机构的制作方法
图片尺寸753x1000
拉杆球头及其制造方法技术
图片尺寸1000x925
一种汽车转向系统的球头总成技术方案
图片尺寸1000x903
v型球阀结构图,工作原理及其特点总结
图片尺寸1269x713