球形接头图纸

qj1000球形截止阀全套cad图纸
图片尺寸736x523![[分享]球形储罐图纸资料下载](https://i.ecywang.com/upload/1/img1.baidu.com/it/u=4151605158,2496709451&fm=253&fmt=auto&app=138&f=JPEG?w=560&h=491)
[分享]球形储罐图纸资料下载
图片尺寸560x491
万向球形接头
图片尺寸548x399
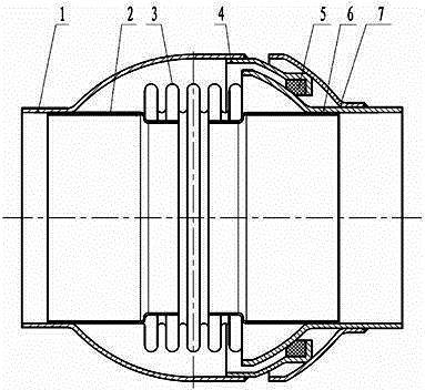
一种波纹管式球形接头制造技术
图片尺寸382x351
球形接头制造技术
图片尺寸872x1000
厂家直销暖风机旋转接头
图片尺寸413x377
自锁式球形接头的制作方法
图片尺寸1000x530
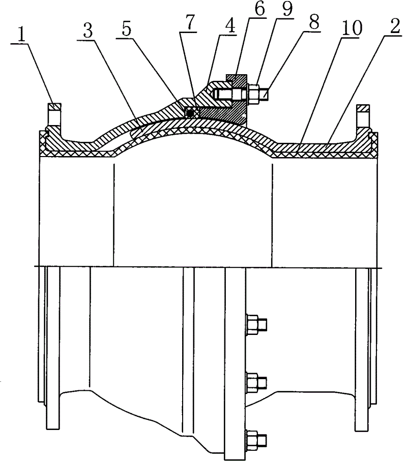
cn203703442u_一种波纹管式球形接头有效
图片尺寸383x352
球体转动接头(mxzj-dn100)
图片尺寸424x600
qjb型焊接球形接头
图片尺寸360x316
主要从事球体转动接头,旋转接头,转动球接头,快换接头,金属软管,包塑
图片尺寸200x170
山东球体转动接头/球体转动接头价格-枣庄市德威迩-谷
图片尺寸599x323
kst 双球体橡胶接头
图片尺寸300x200
cn202493823u_一种活络法兰式球形旋转接头失效
图片尺寸1000x848
球形接头的制作方法
图片尺寸888x1000
一种管道连接用球形弯头的制作方法
图片尺寸991x1000
cn202100856u_双密封球形补偿接头有效
图片尺寸800x907
thkbl10d连杆球接头尺寸图纸
图片尺寸455x326
用于球形接头的方向轴承制造技术
图片尺寸922x1000
ancool kst-l-15-10 可曲挠双球体橡胶接头
图片尺寸708x480