球形车轮转动原理图

球形轮胎真的要来了?固特异轮胎!汽车厂恨你!
图片尺寸550x372
当转动汽车方向盘时,车轮就会转向. 这是一种因果关系,不是吗?
图片尺寸393x295
一种球形轮胎转向系统的制作方法
图片尺寸1000x763
球形车轮装置的结构原理分析
图片尺寸926x1309
一种球形轮胎转向系统的制作方法
图片尺寸1000x856
全球第一辆球形轮胎平衡车果然是被德国人造出来了
图片尺寸650x561
通过齿轮传动来驱动球形车轮的车辆
图片尺寸450x248
球形轮胎驱动系统,方法及具有该系统的球形轮胎汽车技术方案
图片尺寸595x436
苏教科学五下16自行车车轮转动的奥秘17张ppt
图片尺寸720x540
一种混合驱动的球形车轮制造技术
图片尺寸1000x919
世界首款未来球形轮胎,实现360度无死角转向,横着也能停车入库
图片尺寸1728x1080
一种车轮半径可调的非充气电动车轮
图片尺寸444x403
汽车转向系统工作原理 我们知道,当转动汽车方向盘时,车轮就会转向.
图片尺寸496x702
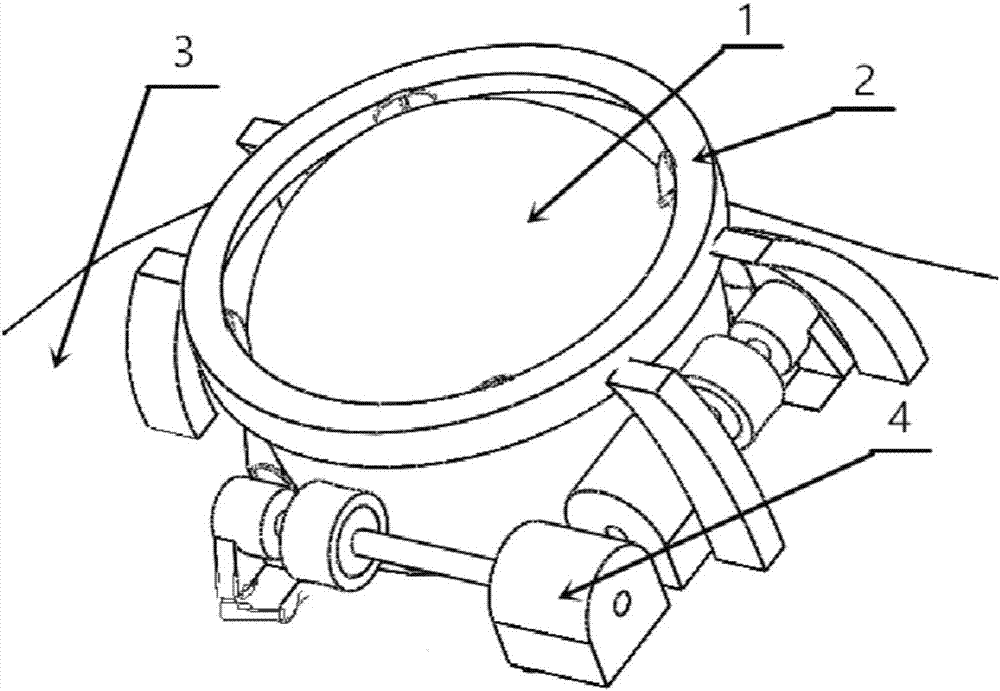
cn206826785u_一种球形轮胎的传动装置有效
图片尺寸1000x691
并将定子与外部电源相连,控制轮胎的转动;用轮胎轴将球形轮胎固定在
图片尺寸1382x1116
都受到阻力,但这个时候也无法利用阻力回正,因为左右车轮产生的转动
图片尺寸660x358
一种多组件的球形全向车轮及使用该轮的车辆
图片尺寸435x436
球形车轮
图片尺寸1525x1434
谁在转动车轮
图片尺寸630x351
球形轮胎让车头的朝向变的不那么重要.
图片尺寸1280x712